- Partiron
- OEM Parts
- Yamaha
- motorcycle
- 1979
- XS400F (XS400) 1979
KICK - STARTER
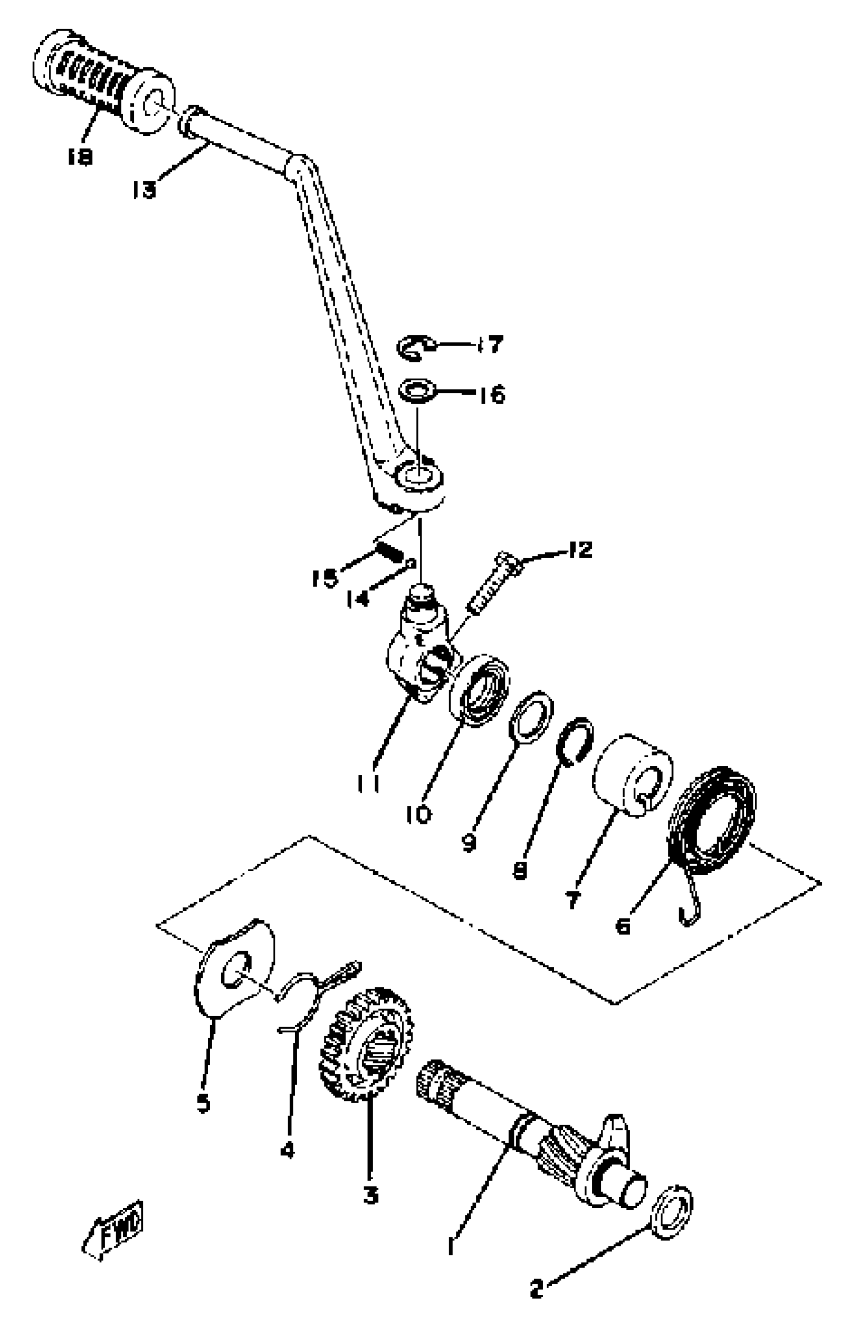
Yamaha XS400F (XS400) 1979 KICK - STARTER Diagram
#
Description
Price
1
KICK AXLE ASSEMBLY
(1L9-15660-00-00)
Unavailable
2
SHIM 1
136-17417-00-10
Unavailable
3
GEAR, KICK
371-15641-01-00
Unavailable
4
CLIP
90468-26045-00
Unavailable
7
SPACER
371-15666-00-00
Unavailable
13
KICK CRANK ASY
1L9-15620-01-93
Unavailable
16
WASHER (3XVC)
90201-153A1-00
Unavailable
17
CIRCLIP
99006-10600-00
Unavailable
18
COVER, KICK LEVER
156-15618-01-00
Unavailable
