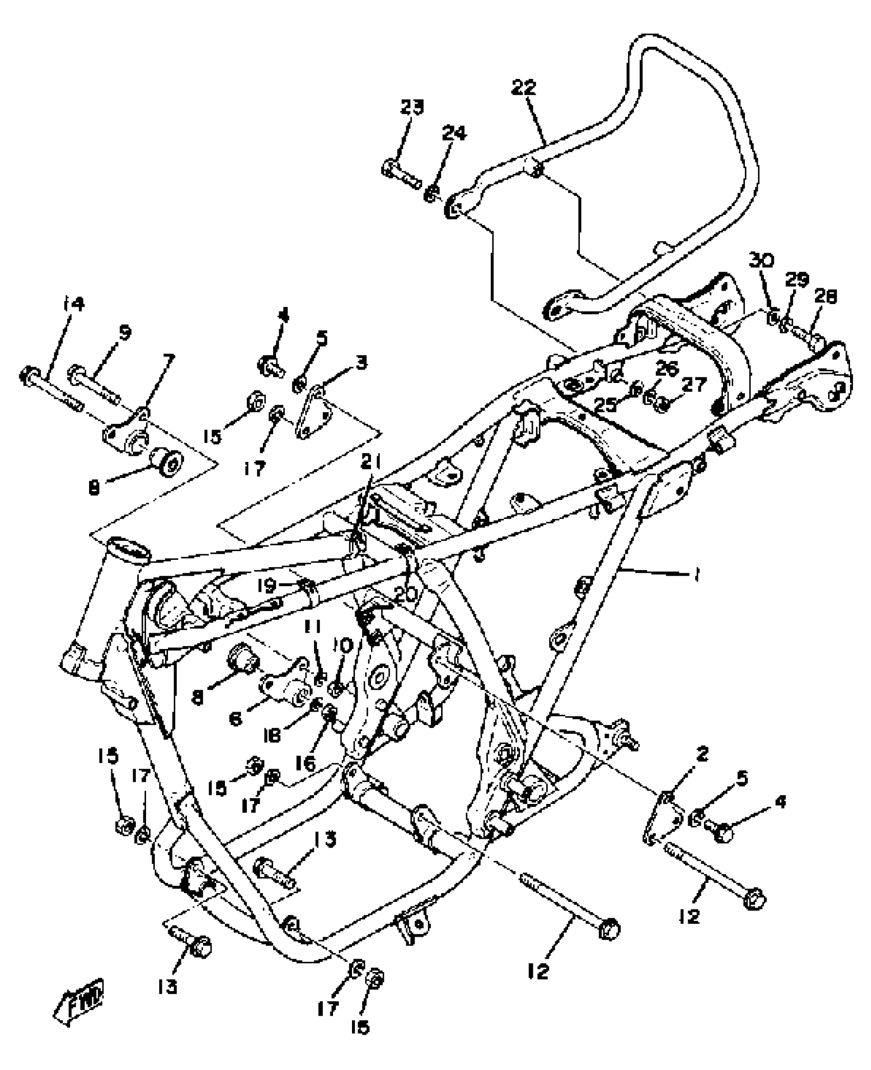
Yamaha XS400F (XS400) 1979 FRAME Diagram
#
Description
Price
1
FRAME
(2L0-21110-00-33)
Unavailable
2
STAY, ENGINE 2
(2A2-21315-00-00)
Unavailable
3
STAY, ENGINE 2
(1L9-21315-00-00)
Unavailable
6
STAY, ENGINE 3
1L9-21316-01-00
Unavailable
7
STAY, ENGINE 4
(1L9-21317-01-00)
Unavailable
8
DAMPER, ENG MOUNT 1
1A1-15316-00-00
Unavailable
12
BOLT, FLANGE
(95821-10145-00)
Unavailable
17
YBS67-10 WASHER, SPRING
92990-10100-00
Unavailable
19
BAND, SWITCH CORD
437-83936-01-00
Unavailable
20
BAND
341-26397-01-00
Unavailable
21
BAND, SWITCH CORD
437-83936-11-00
Unavailable
22
STAY, REAR
(2L0-21645-00-00)
Unavailable
23
BOLT, HEXAGON
97013-08050-00
Unavailable
24
WASHER, PLAIN
92990-08200-00
Unavailable
25
.. WASHER, PLATE
92990-08600-00
Unavailable
28
BOLT
97013-08045-00
Unavailable
30
.. WASHER, PLATE
92990-08600-00
Unavailable
