- Partiron
- OEM Parts
- Yamaha
- motorcycle
- 1978
- XS400E (XS400) 1978
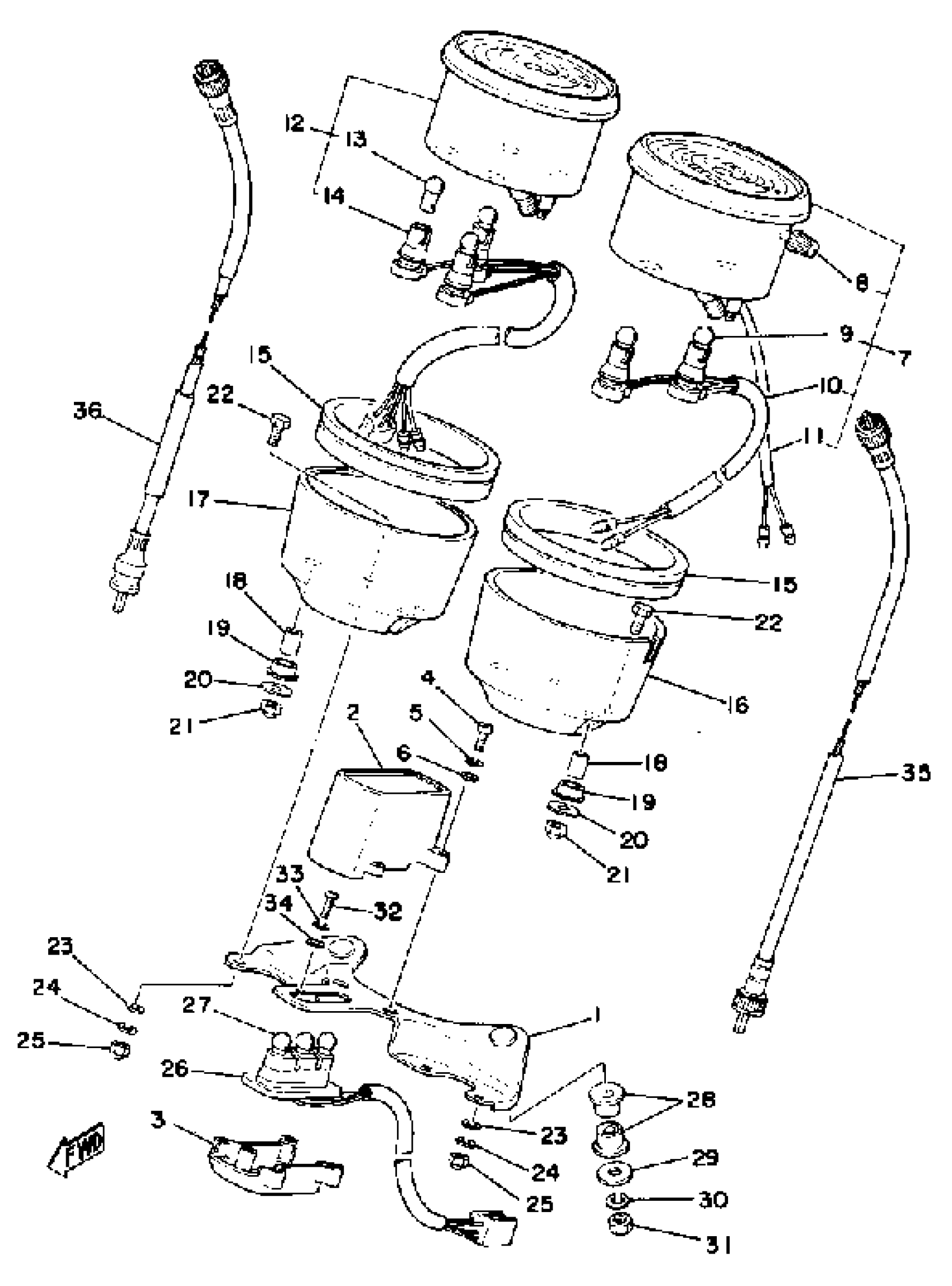
SPEEDOMETER - TACHOMETER
Yamaha XS400E (XS400) 1978 SPEEDOMETER - TACHOMETER Diagram
#
1
BRACKET, METER
(2L0-83519-00-00)
Unavailable
2
PILOT BOX, UPPER
2L0-83568-A0-00
Unavailable
3
PILOT BOX, LOWER
2G2-83569-A0-00
Unavailable
7
SPEEDOMETER ASSEMBLY
2L0-83570-A0-00
Unavailable
9
SOCKET, METER
(2L0-83536-A0-00)
Unavailable
11
. SENDER
(1A0-83556-01-00)
Unavailable
12
TACHOMETER ASSEMBLY
(2L0-83540-A0-00)
Unavailable
14
SOCKET CORD ASSEMBLY
(2L0-83520-A0-00)
Unavailable
15
DAMPER
1A0-83513-00-00
Unavailable
16
COVER, SPEEDOMETER
2L0-83507-00-00
Unavailable
17
COVER, TACHOMETER
2L0-83508-00-00
Unavailable
18
COLLAR
1A0-83522-00-00
Unavailable
19
DAMPER, METER COVER FITTING
584-83523-00-00
Unavailable
20
WASHER, PLATE (8J0)
90201-05725-00
Unavailable
21
NUT (CROWN)
95303-05800-00
Unavailable
22
BOLT
584-83546-00-00
Unavailable
23
YBS66-6 WASHER, PLAIN
92990-06200-00
Unavailable
24
WASHER, SPRING
92995-06100-00
Unavailable
25
NUT (J17)
95380-06800-00
Unavailable
26
SOCKET CORD ASSEMBLY
(2L0-83509-A0-00)
Unavailable
28
DAMPER
1A0-83523-00-00
Unavailable
29
WASHER, PLATE
90201-06380-00
Unavailable
30
WASHER, SPRING
92995-06100-00
Unavailable
31
NUT, HEXAGON
95380-06600-00
Unavailable
32
SCREW, PAN HEAD
(92503-04008-00)
Unavailable
33
YBS67-4 WASHER, SPRING
92990-04100-00
Unavailable
34
WASHER, PLAIN (646)
92990-04600-00
Unavailable
35
SPEEDOMETER CABLE ASSY
3VP-83550-02-00
Unavailable
36
TACHOMETER CABLE
4N5-83560-00-00
Unavailable
