- Partiron
- OEM Parts
- Yamaha
- motorcycle
- 1978
- XS400-2E (XS400) 1978
FUEL TANK
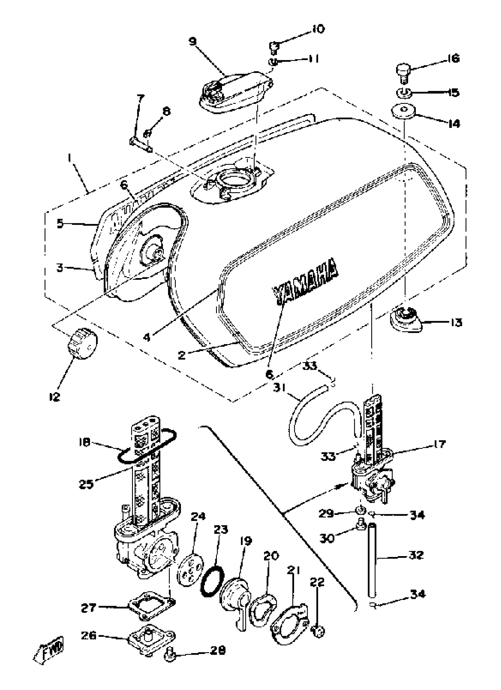
Yamaha XS400-2E (XS400) 1978 FUEL TANK Diagram
#
1
FUEL TANK
1L9-24110-00-X3
Unavailable
2
GRAPHIC, FUEL TANK 1
(1L9-24244-10-00)
Unavailable
3
GRAPHIC, FUEL TANK 2
(1L9-24245-10-00)
Unavailable
4
. GRAPHIC, FUEL TANK 3
1L9-24246-10-00
Unavailable
5
. GRAPHIC, FUEL TANK 4
1L9-24247-10-00
Unavailable
6
EMBLEM, YAMAHA(PASTEL GOLD)
99245-00120-00
Unavailable
7
PIN, SPECIAL SHAPE
90249-03123-00
Unavailable
9
CAP ASSEMBLY
1E7-24602-00-00
Unavailable
10
SCREW, PAN HEAD(62X)
97885-05010-00
Unavailable
12
DAMPER, LOCATING 1
1L9-24181-00-00
Unavailable
13
DAMPER, LOCATING 2
(1L9-24182-00-00)
Unavailable
16
BOLT(JA9)
90101-08691-00
Unavailable
17
FUEL COCK ASY 1
3X8-24500-00-00
Unavailable
18
O-RING
1J7-24512-00-00
Unavailable
19
. LEVER, COCK
1J7-24524-00-00
Unavailable
20
. WASHER, WAVE
1J7-24518-00-00
Unavailable
21
. PLATE, LVR FITTING
1J7-24525-00-00
Unavailable
22
SCREW, PAN HEAD (J10)
98580-03008-00
Unavailable
23
SEAL, FUEL COCK
1J7-24534-00-00
Unavailable
24
VALVE
16G-24523-00-00
Unavailable
25
. NET, FILTER 1
1J7-24514-02-00
Unavailable
26
CUP, FILTER
(1L9-24521-00-00)
Unavailable
27
GASKET, DRAIN COVER
1J7-24522-00-00
Unavailable
28
SCREW, FLAT
98707-04008-00
Unavailable
29
WASHER, PLATE(3MB)
90202-05187-00
Unavailable
30
SCREW 366241430000
90149-06008-00
Unavailable
31
HOSE (L570)
90445-07MF1-00
Unavailable
32
HOSE (L450)
90445-10144-00
Unavailable
33
CLIP (1J7)
90467-07029-00
Unavailable
34
CLIP
90467-090A2-00
Unavailable
