- Partiron
- OEM Parts
- Yamaha
- motorcycle
- 1972
- XS2 (XS2) 1972
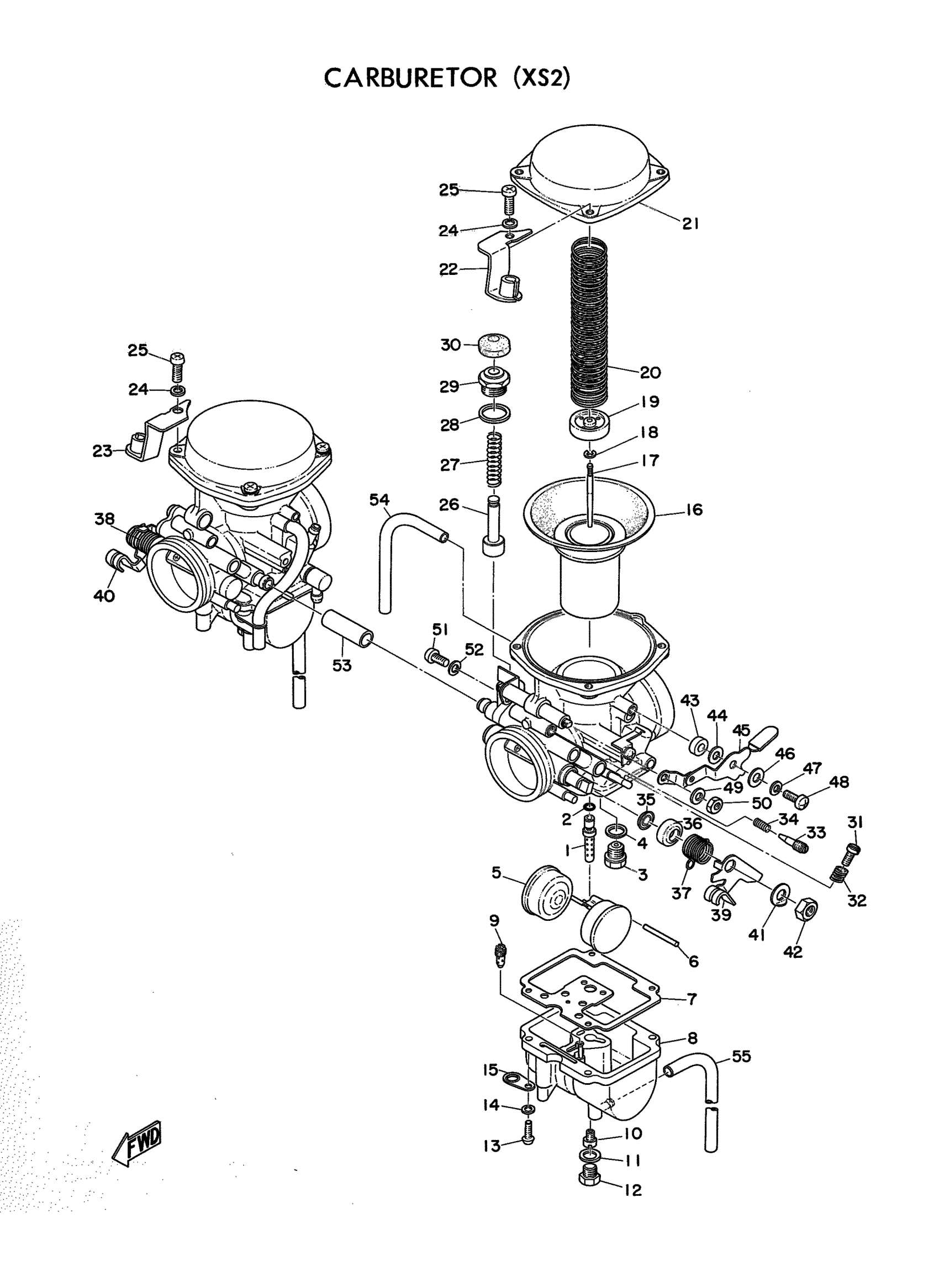
CARBURETOR
Yamaha XS2 (XS2) 1972 CARBURETOR Diagram
#
1
Z-6
(256-14941-86-00)
Unavailable
1
CARBURETOR ASSEMBLY 1
(306-14901-03-00)
Unavailable
2
CARBURETOR ASSEMBLY 2
306-14902-03-00
Unavailable
8
. BODY, FLOAT CHAMBER
447-14981-00-00
Unavailable
12
.. SCREW, PLUG
256-14991-00-00
Unavailable
13
SCREW, PAN HEAD
98511-04012-00
Unavailable
14
YBS67-4 WASHER, SPRING
92990-04100-00
Unavailable
15
PLATE
500-14146-00-00
Unavailable
16
.. DIAPHRAGM ASSY (256-14940-01-00)
256-14940-00-00
Unavailable
17
. NEEDLE (4JN19-4)
256-14916-19-00
Unavailable
18
CLIP
256-14919-00-00
Unavailable
19
.. PLATE, NEEDLE FITTING
256-14946-00-00
Unavailable
20
. SPRING, DIAPHRAGM
256-14933-00-00
Unavailable
21
COVER, DIAPHRAGM
(256-14958-00-00)
Unavailable
22
BRACKET, THROTTLE 1
(447-14926-00-00)
Unavailable
23
BRACKET, THROTTLE 2
(341-14927-00-00)
Unavailable
24
YBS67-5 WASHER, SPRING
92990-05100-00
Unavailable
25
SCREW,PAN HEAD (646)
98580-05012-00
Unavailable
26
PLUNGER, STARTER
(306-14171-01-00)
Unavailable
27
. SPRING, PLUNGER
256-14135-00-00
Unavailable
28
WASHER
(306-14954-00-00)
Unavailable
29
CAP, PLUNGER
(306-14174-00-00)
Unavailable
30
.. COVER, PLUNGER CAP
306-14173-00-00
Unavailable
31
.. SCREW, THROTTLE STOP
256-14922-01-00
Unavailable
32
.. SPRING, THROTTLE STOP
256-14934-01-00
Unavailable
33
SCREW, PILOT
(256-14923-00-00)
Unavailable
34
SPRING, AIR ADJUSTING
127-14134-00-00
Unavailable
35
.. SEAL
256-14997-00-00
Unavailable
36
CAP
(306-14969-00-00)
Unavailable
37
SPRING, THRTL LEVER
(306-14931-00-00)
Unavailable
38
SPRING, THRTL 2
(306-14932-00-00)
Unavailable
39
LEVER, THROTTLE 2
(306-14964-00-00)
Unavailable
40
LEVER, THROTTLE
(306-14915-00-00)
Unavailable
41
.. WASHER
256-14953-00-00
Unavailable
42
NUT(3DM)
95304-12600-00
Unavailable
43
.. RING
256-14918-00-00
Unavailable
44
. WASHER
256-14955-00-00
Unavailable
45
.. LEVER ASSY
306-14905-02-00
Unavailable
46
WASHER
4CW-14962-00-00
Unavailable
47
YBS67-4 WASHER, SPRING
92990-04100-00
Unavailable
48
SCREW, PAN HEAD
98511-04012-00
Unavailable
49
WASHER
(256-14973-00-00)
Unavailable
50
NUT (682)
95380-10700-00
Unavailable
51
SCREW, PAN HEAD
98511-04012-00
Unavailable
52
YBS67-4 WASHER, SPRING
92990-04100-00
Unavailable
53
PIPE, STARTER CON
(306-14988-00-00)
Unavailable
54
PIPE, AIRVENT
(256-14197-01-00)
Unavailable
55
HOSE
(256-14987-00-00)
Unavailable
56
SHAFT, STARTER LVR
(306-14977-00-00)
Unavailable
57
. CLIP
256-14937-00-00
Unavailable
