- Partiron
- OEM Parts
- Yamaha
- motorcycle
- 1979
- XS1100SF (XS1100S) 1979
FUEL COCK - DIAPHRAGM - PIPING
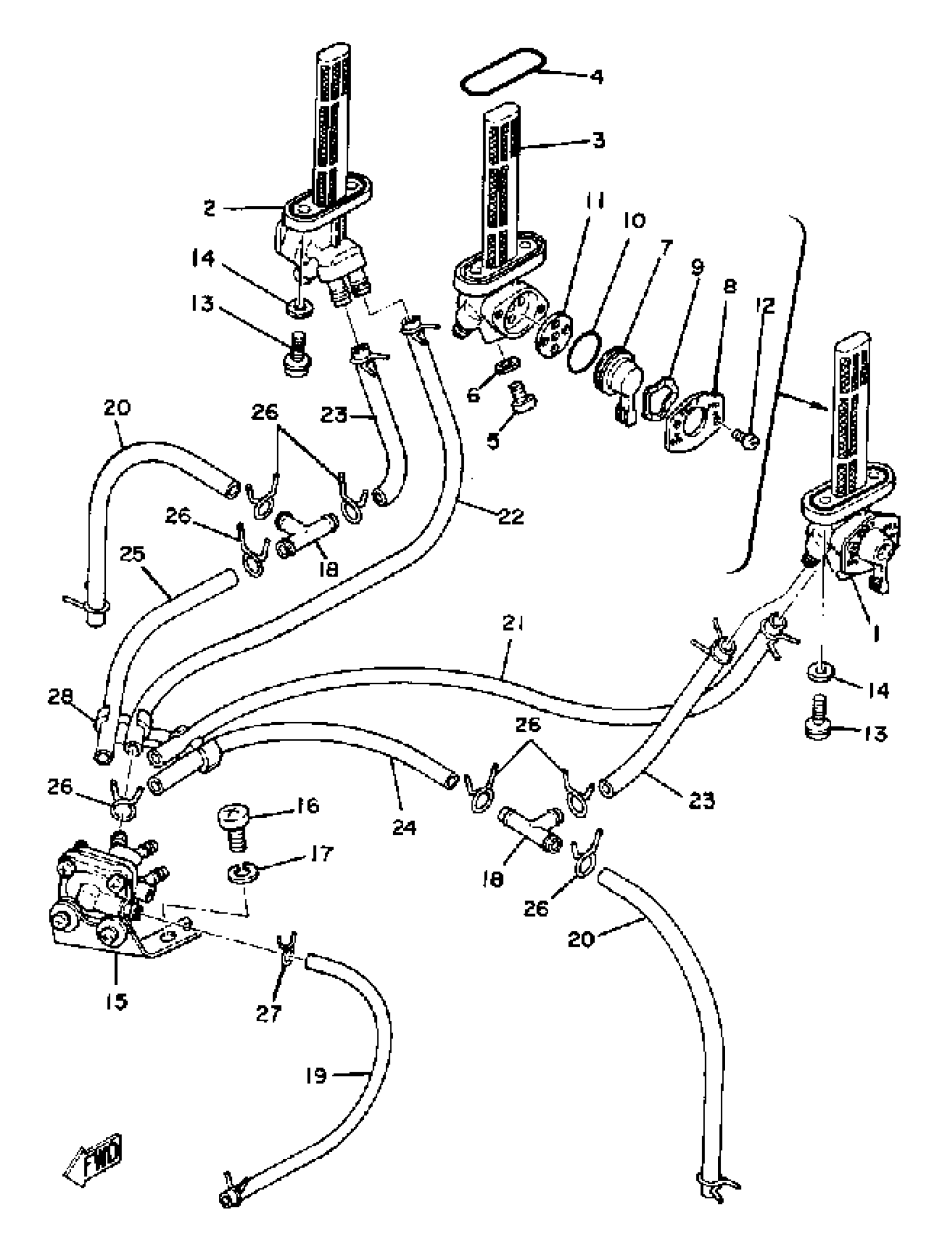
Yamaha XS1100SF (XS1100S) 1979 FUEL COCK - DIAPHRAGM - PIPING Diagram
#
Description
Price
1
FUEL COCK ASSEMBLY 1
3H3-24500-01-00
Unavailable
2
FUEL COCK ASSEMBLY 2
3H3-24510-01-00
Unavailable
5
SCREW, PAN HEAD(62X)
97885-05010-00
Unavailable
6
. GASKET
3H3-24522-00-00
Unavailable
7
LEVER, COCK
(3H3-24524-00-00)
Unavailable
7
LEVER, COCK
(3H3-24524-10-00)
Unavailable
8
PLATE, LVR FITTING
(3H3-24525-00-00)
Unavailable
8
PLATE, LVR FITTING
(3H3-24525-10-00)
Unavailable
14
WASHER, PLATE(3MB)
90202-05187-00
Unavailable
15
DIAPHRAGM ASSEMBLY
3H3-24520-01-00
Unavailable
16
SCREW, PAN HEAD
98580-08016-00
Unavailable
17
YBS67-8 WASHER, SPRING
92990-08100-00
Unavailable
18
PIPE, JOINT
3H3-24376-00-00
Unavailable
19
HOSE (L200)
90445-07176-00
Unavailable
20
HOSE (L400)
90445-116K9-00
Unavailable
21
HOSE (L450)
90445-10144-00
Unavailable
22
HOSE (L450)
90445-10144-00
Unavailable
23
HOSE
90445-10365-00
Unavailable
24
HOSE (L450)
90445-10144-00
Unavailable
25
HOSE (L450)
90445-10144-00
Unavailable
26
CLIP
90467-090A2-00
Unavailable
27
CLIP (1J7)
90467-07029-00
Unavailable
28
CLAMP, FUEL PIPE 1
(3H3-24366-00-00)
Unavailable
