- Partiron
- OEM Parts
- Yamaha
- motorcycle
- 1981
- XS1100LH (XS1100L) 1981
TAILLIGHT
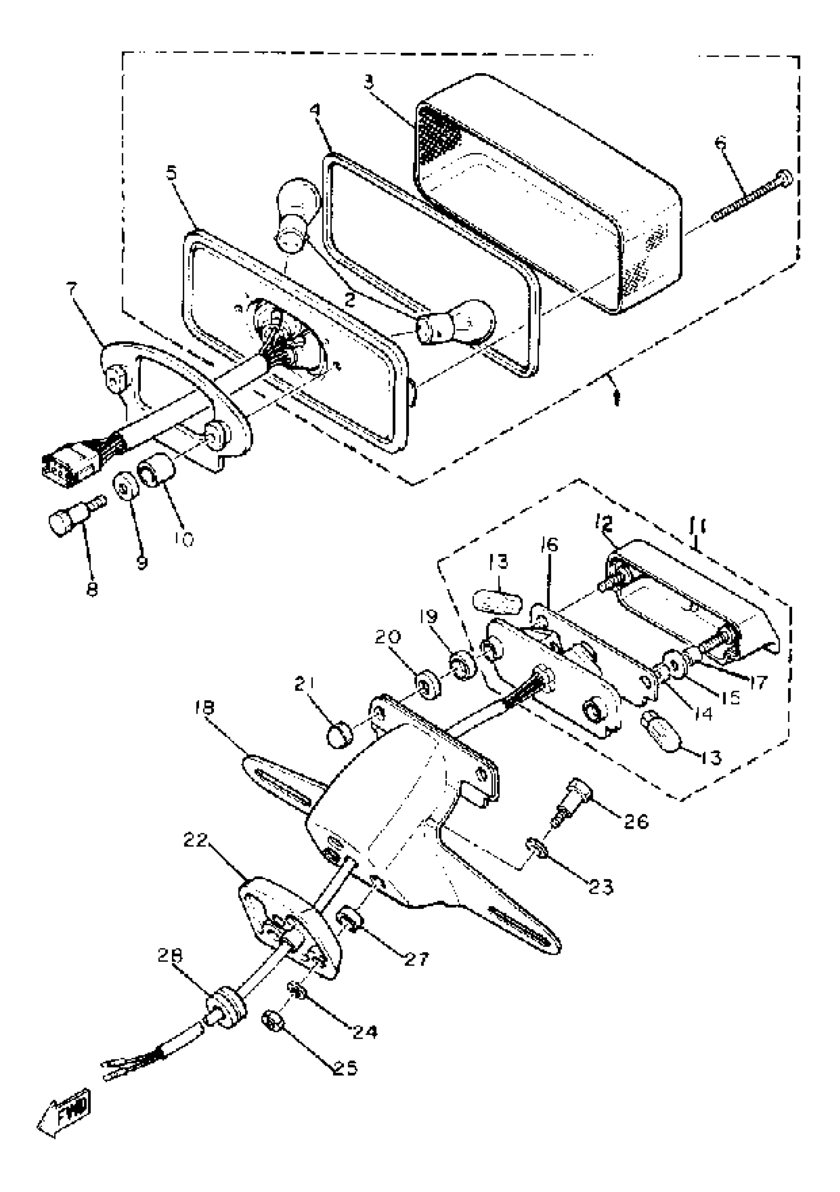
Yamaha XS1100LH (XS1100L) 1981 TAILLIGHT Diagram
#
Description
Price
1
. TAILLIGHT UNIT ASSY
3G1-84710-60-00
Unavailable
3
. LENS, TAILLIGHT
1A8-84721-61-00
Unavailable
4
. GASKET, TAIL LENS
1A0-84723-60-00
Unavailable
5
BASE, TAILLIGHT
(4H1-84711-60-00)
Unavailable
6
SCREW, PANHEAD (4G7)
98580-04055-00
Unavailable
7
SEAT, BASE
3G1-84712-00-00
Unavailable
8
BOLT
90109-06548-00
Unavailable
10
SEAT, BASE
3G1-84712-60-00
Unavailable
11
LICENSE LIGHT UNIT ASSY (4H3-84745-60-00)
2AX-84745-00-00
Unavailable
12
BODY, LICENCE LIGHT
(3J2-84749-01-00)
Unavailable
13
. BULB, METER 12V 38W
3F9-84744-00-XX
Unavailable
16
WASHER
(3J2-84772-00-00)
Unavailable
17
COLLAR, LCNSE BRKT
(3J2-84757-00-00)
Unavailable
18
BRACKET, license
4H3-84751-00-00
Unavailable
19
DAMPER
3G1-84553-00-00
Unavailable
20
WASHER, SPECIAL
3F9-84754-00-00
Unavailable
21
NUT (CROWN)
95303-05800-00
Unavailable
22
DAMPER
(3J6-84753-00-00)
Unavailable
23
WASHER, PLAIN
92990-08200-00
Unavailable
24
WASHER, SPRING
92995-06100-00
Unavailable
25
NUT, HEXAGON
95380-06600-00
Unavailable
26
BOLT 337847520000
90109-06005-00
Unavailable
27
DAMPER
3G1-84753-60-00
Unavailable
28
GROMMET (438)
90480-15061-00
Unavailable
