- Partiron
- OEM Parts
- Yamaha
- motorcycle
- 1981
- XS1100H (XS1100) 1981
SPEEDOMETER TACHOMETER
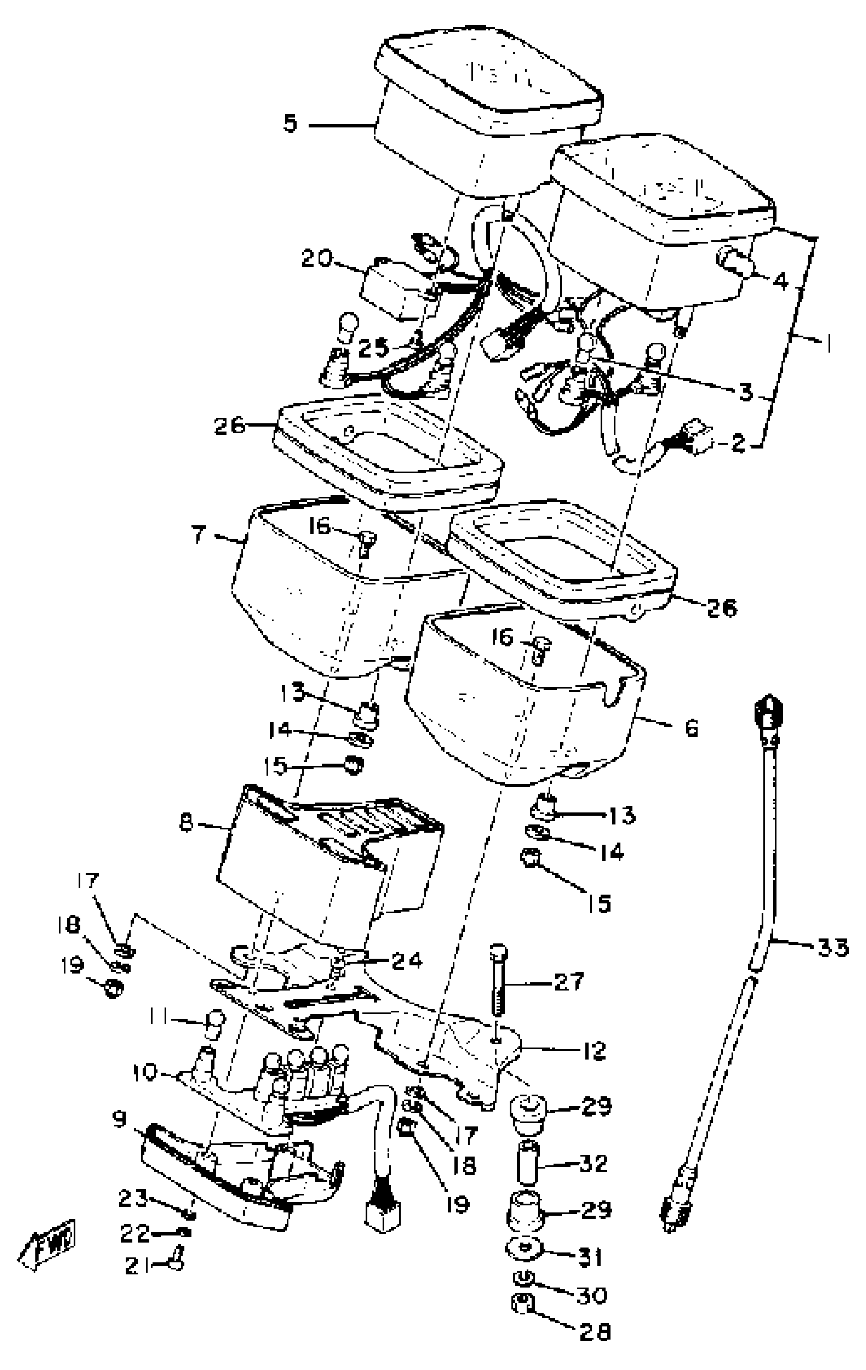
Yamaha XS1100H (XS1100) 1981 SPEEDOMETER TACHOMETER Diagram
#
1
SPEEDOMETER ASSEMBLY
3H5-83570-A1-00
Unavailable
2
SOCKET, METER
(2H7-83536-01-00)
Unavailable
3
BULB, MTR.12V3.4W
4G1-84744-00-XX
Unavailable
5
TACHOMETER ASSEMBLY
2H7-83540-01-00
Unavailable
6
COVER, SPEEDOMETER
2H7-83507-00-00
Unavailable
7
COVER, TACHOMETER
2H7-83508-00-00
Unavailable
8
PILOT BOX, UPPER
2H9-83568-00-00
Unavailable
9
PILOT BOX, LOWER
(2H7-83569-00-00)
Unavailable
10
SOCKET CORD ASSEMBLY
2H7-83509-01-00
Unavailable
11
BULB, MTR.12V3.4W
4G1-84744-00-XX
Unavailable
12
BRACKET, METER
2H7-83519-00-00
Unavailable
13
DAMPER, METER COVER FITTING
584-83523-00-00
Unavailable
14
WASHER, PLATE (8J0)
90201-05725-00
Unavailable
15
NUT (CROWN)
95303-05800-00
Unavailable
16
BOLT
584-83546-00-00
Unavailable
17
YBS66-6 WASHER, PLAIN
92990-06200-00
Unavailable
18
WASHER, SPRING
92995-06100-00
Unavailable
19
NUT (J17)
95380-06800-00
Unavailable
20
REGULATOR, FL METER
2H7-85755-01-00
Unavailable
21
SCREW, PAN HEAD
98507-04018-00
Unavailable
22
WASHER(6TA)
92907-04100-00
Unavailable
23
WASHER(JF2)
92907-04600-00
Unavailable
24
SCREW, PAN HEAD(62X)
97885-05010-00
Unavailable
25
SCREW, PAN HEAD (J10)
98580-03008-00
Unavailable
26
DAMPER
2H7-83513-01-00
Unavailable
27
BOLT(8BC)
97017-06040-00
Unavailable
28
NUT, HEXAGON
95380-06600-00
Unavailable
29
DAMPER, METER BRACKET
584-83541-00-00
Unavailable
30
WASHER, SPRING
92995-06100-00
Unavailable
31
WASHER, PLATE
90201-06380-00
Unavailable
32
COLLAR (877)
90387-06249-00
Unavailable
33
SPEEDOMETER CABLE ASSY
16M-83550-01-00
Unavailable
