Yamaha XS1100F (XS1100) 1979 SEAT Diagram
#
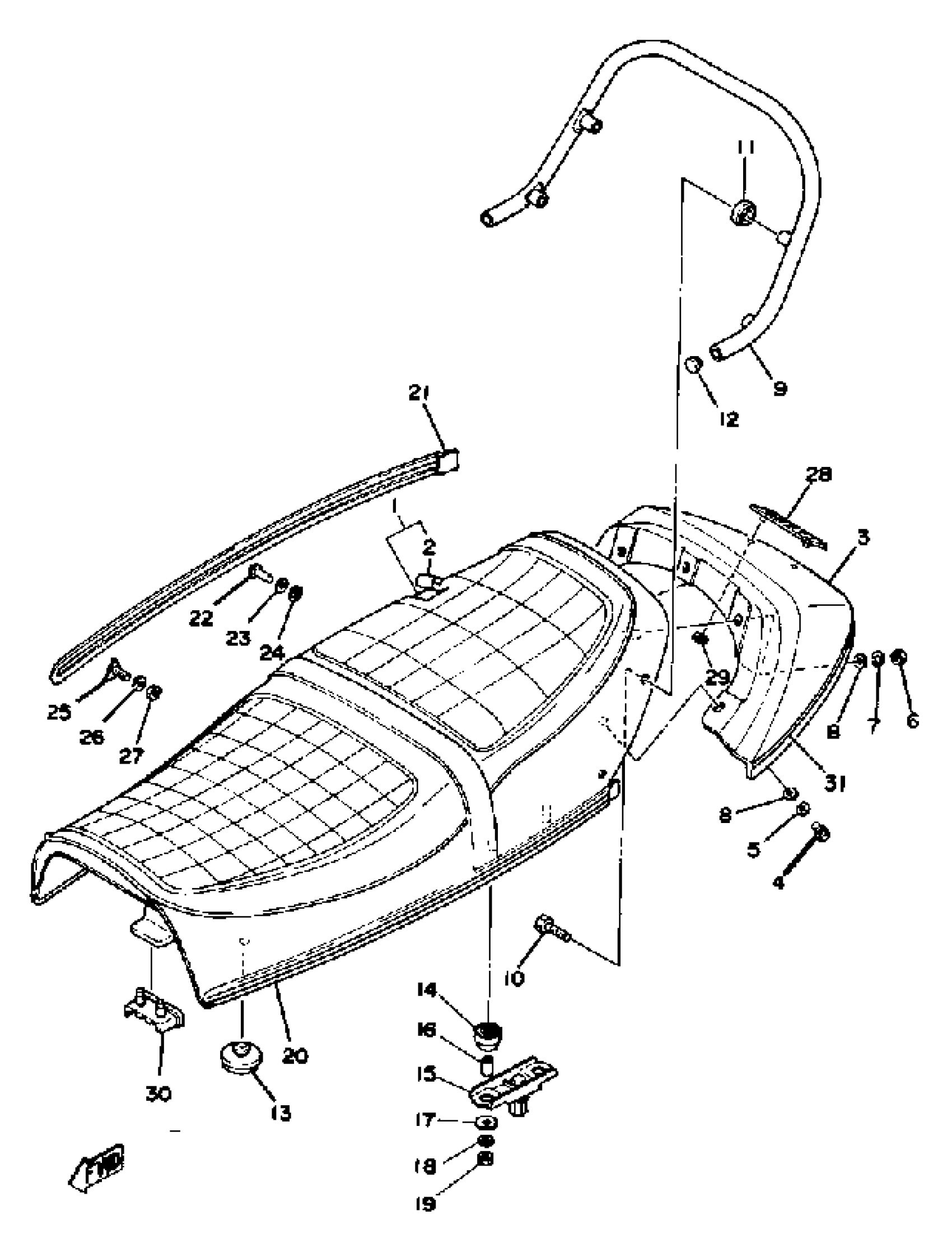
1
DOUBLE SEAT ASSEMBLY (2H7-24730-Y0)
2H7-W2472-00-00
Unavailable
2
COVER, DOUBLE SEAT
(2H7-24731-10-00)
Unavailable
3
COVER, TAIL
2H7-24756-00-4E
Unavailable
3
COVER, TAIL
(2H7-24756-00-7E)
Unavailable
4
BOLT, HEXAGON
97313-05016-00
Unavailable
8
. WASHER, PLAIN
92990-05200-00
Unavailable
9
HANDLE, SEAT
2H7-24773-00-00
Unavailable
10
BOLT
(90101-08305-00)
Unavailable
12
GROMMET, SEAT HANDLE
1J3-24742-00-00
Unavailable
14
DAMPER, SEAT
2H7-24723-00-00
Unavailable
15
BRACKET, SEAT
2H7-24738-00-00
Unavailable
16
COLLAR (1M1)
90387-06553-00
Unavailable
17
WASHER, PLATE(36Y)
90201-063J2-00
Unavailable
18
WASHER, SPRING
92995-06100-00
Unavailable
19
NUT, HEXAGON
95380-06600-00
Unavailable
20
MOLD, SEAT
(2H7-24785-00-4E)
Unavailable
20
MOLD, SEAT
(2H7-24785-00-7E)
Unavailable
21
MOLD, SEAT
(2H7-24785-10-4E)
Unavailable
21
MOLD, SEAT
(2H7-24785-10-7E)
Unavailable
22
RIVET
1J7-24789-00-00
Unavailable
23
WASHER, SPECIAL
1J7-24722-00-00
Unavailable
24
SPEED NUT
1J7-24735-00-00
Unavailable
25
BOLT, LEVER FITTING
1J7-24777-00-00
Unavailable
26
YBS66-4 WASHER, PLAIN
92990-04200-00
Unavailable
27
NUT(6TA)
95307-04600-00
Unavailable
28
EMBLEM
25G-24786-00-00
Unavailable
29
NUT, SPRING (1L9)
90183-04012-00
Unavailable
30
DAMPER, SEAT
2H7-24724-00-00
Unavailable
31
GRAPHIC, TAIL COVER
(2H7-24757-10-00)
Unavailable
