- Partiron
- OEM Parts
- Honda
- MOTORCYCLE
- 1998
- XR70RA (98) MOTORCYCLE, JPN, VIN# JH2DE020-WK100001 TO JH2DE020-WK106234
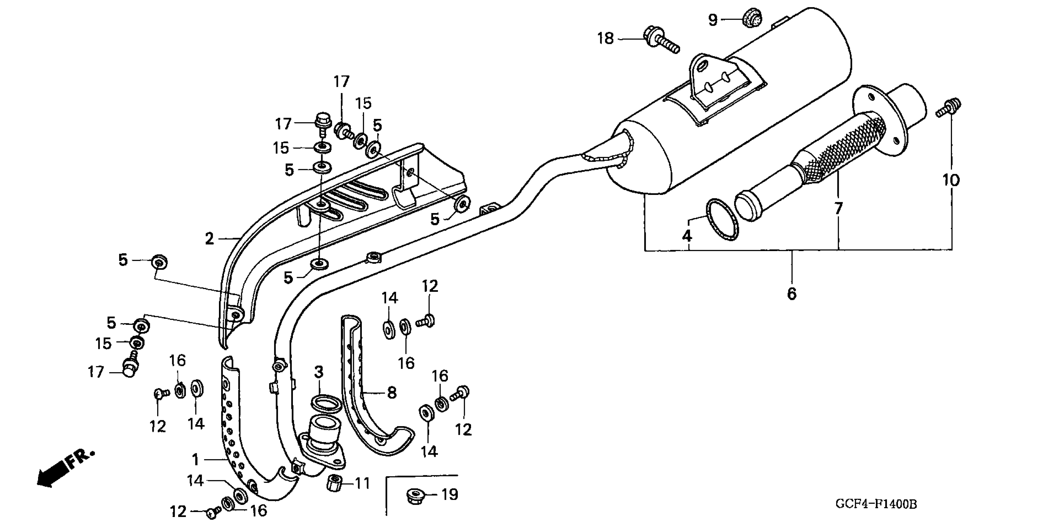
MUFFLER
Honda XR70RA (98) MOTORCYCLE, JPN, VIN# JH2DE020-WK100001 TO JH2DE020-WK106234 MUFFLER Diagram
#
Description
Price
1
COVER A, EX. PIPE *NH106* (HEATPROOF BLACK) This part replaces 18240-GCF-305ZA.
18240-165-600ZA
$24.49
6
MUFFLER ASSY. This part replaces 18300-GCF-670.
18300-GCF-A20
Unavailable
6
MUFFLER ASSY.
18300-GCF-A20
Unavailable
8
COVER B, EX. PIPE *NH106* (COO) (HEATPROOF BLACK) This part replaces 18450-181-000ZC.
18450-GCF-305ZA
$15.46
10
BOLT, FLANGE (6X10)
90104-MN9-000
Unavailable
