- Partiron
- OEM Parts
- Honda
- MOTORCYCLE
- 1994
- XR650LA (94) MOTORCYCLE, JPN, VIN# JH2RD060-RM100007 TO JH2RD060-RM103099
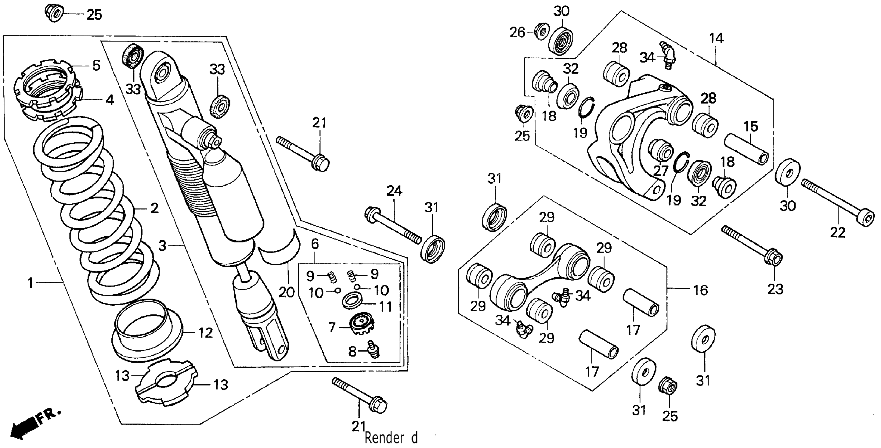
REAR SHOCK ABSORBER
Honda XR650LA (94) MOTORCYCLE, JPN, VIN# JH2RD060-RM100007 TO JH2RD060-RM103099 REAR SHOCK ABSORBER Diagram
#
Description
Price
1
SHOCK ABSORBER ASSY., RR.
52400-MY6-701
Unavailable
2
SPRING, RR. SHOCK ABSORBER
52401-MY6-671
Unavailable
3
DAMPER, RR. (SHOWA)
52410-MY6-701
Unavailable
14
ARM ASSY., SHOCK ABSORBER
52460-KN5-000
Unavailable
16
ROD ASSY., SHOCK CONNECTING
52470-MN1-670
Unavailable
