- Partiron
- OEM Parts
- Honda
- MOTORCYCLE
- 1991
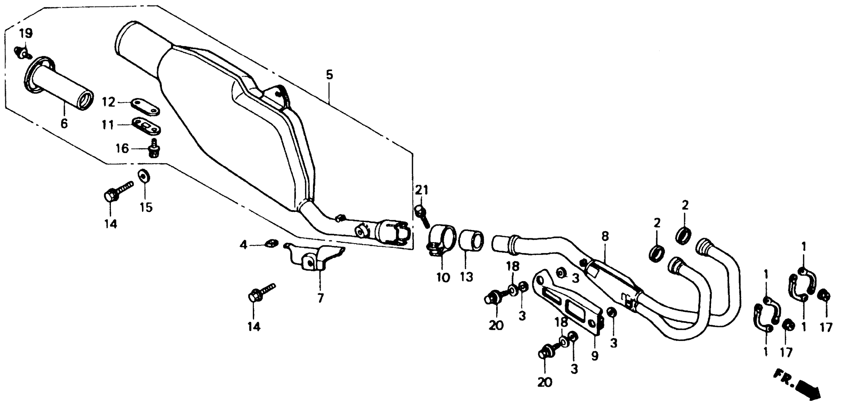
- XR600RA (91) MOTORCYCLE, JPN, VIN# JH2PE040-MK600008 TO JH2PE040-MK601490
EXHAUST MUFFLER 91-92
Honda XR600RA (91) MOTORCYCLE, JPN, VIN# JH2PE040-MK600008 TO JH2PE040-MK601490 EXHAUST MUFFLER 91-92 Diagram
#
Description
Price
5
MUFFLER ASSY.
18300-MN1-682
Unavailable
6
PIPE, TAIL This part replaces 18311-MN1-670.
18311-MN1-750
Unavailable
6
PIPE, TAIL
18311-MN1-750
Unavailable
7
PLATE, HEAT GUARD
18315-MN1-680
Unavailable
8
PIPE, EX.
18320-MN1-680
Unavailable
9
PROTECTOR, EX. PIPE
18325-MG3-000
Unavailable
10
BAND, MUFFLER This part replaces 18371-MA0-770.
18376-KV0-000
Unavailable
10
BAND, MUFFLER
18376-KV0-000
Unavailable
