- Partiron
- OEM Parts
- Honda
- MOTORCYCLE
- 1989
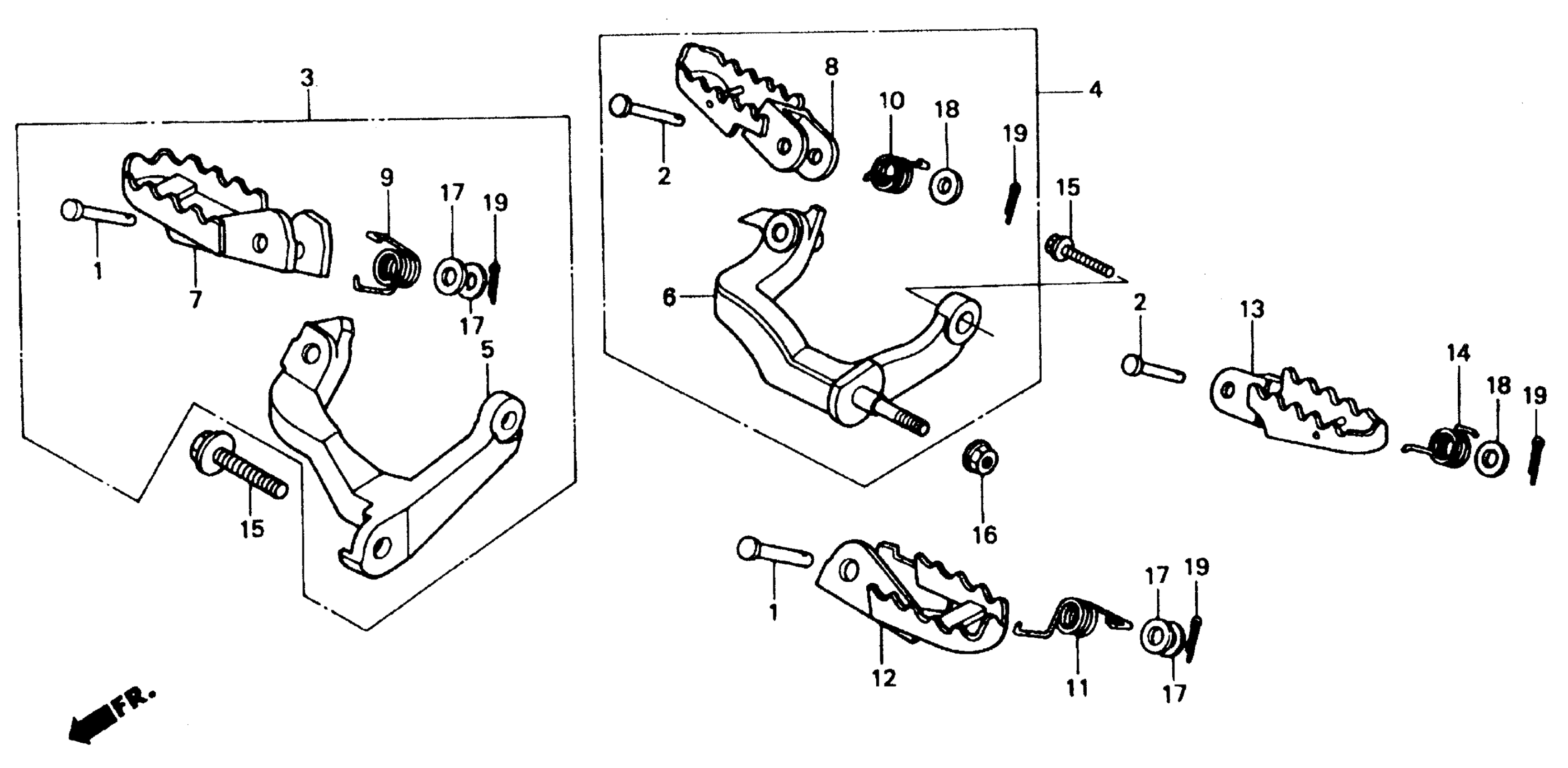
- XR600RA (89) MOTORCYCLE, JPN, VIN# JH2PE040-KK400001 TO JH2PE040-KK402027
STEP
Honda XR600RA (89) MOTORCYCLE, JPN, VIN# JH2PE040-KK400001 TO JH2PE040-KK402027 STEP Diagram
#
Description
Price
2
PIN, STEP BAR JOINT
50603-MN1-670
Unavailable
4
ARM ASSY., R. STEP (NOT AVAILABLE)
50610-MN1-670
Unavailable
13
ARM, L. STEP
50642-MN1-670
Unavailable
15
BOLT, FLANGE (10X45)
90211-KN5-670
Unavailable
