- Partiron
- OEM Parts
- Honda
- MOTORCYCLE
- 1989
- XR600RA (89) MOTORCYCLE, JPN, VIN# JH2PE040-KK400001 TO JH2PE040-KK402027
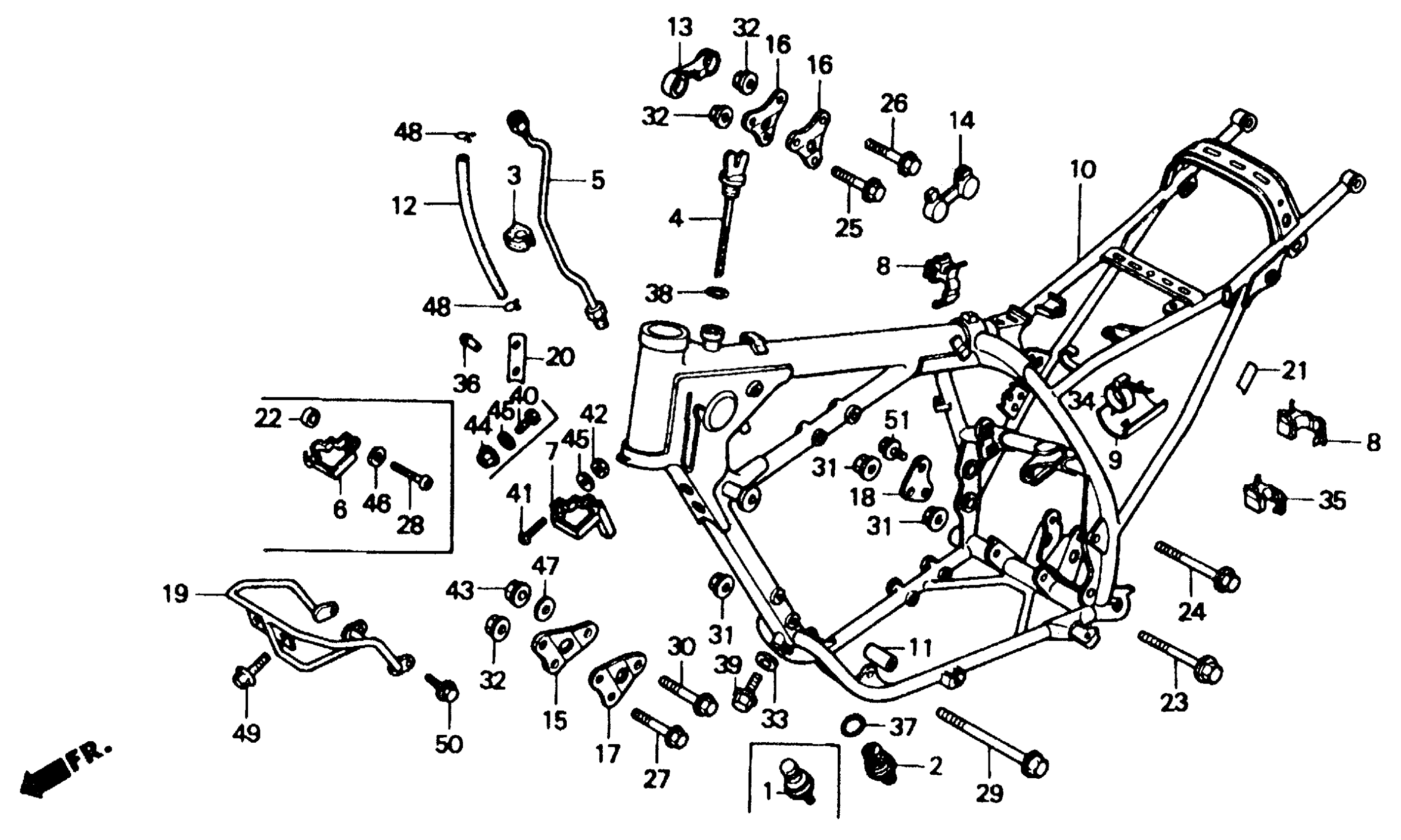
FRAME
Honda XR600RA (89) MOTORCYCLE, JPN, VIN# JH2PE040-KK400001 TO JH2PE040-KK402027 FRAME Diagram
#
Description
Price
4
DIPSTICK, OIL
15650-MN1-670
Unavailable
5
PIPE, OIL
15710-MN1-670
Unavailable
10
FRAME *NH138* (SHASTA WHITE)
50100-MN1-670ZA
Unavailable
11
COLLAR, ENGINE HANGER (LOWER)
50140-KF0-000
Unavailable
12
TUBE, BREATHER (7.3X335)
50185-MN1-670
Unavailable
19
PIPE, SKID
50360-MN1-670
Unavailable
21
LABEL, COLOR (R119) (TYPE1) This part replaces 87565-MN1-770ZA.
87565-MN1-870ZA
Unavailable
21
LABEL, COLOR (R119) (TYPE1)
87565-MN1-870ZA
Unavailable
24
BOLT, FLANGE (10X114)
90105-MK2-670
Unavailable
39
BOLT, HEX. (10X16)
92100-10016-0A
Unavailable
48
CLAMP, TUBE (D12.5)
90311-MN1-670
Unavailable
