- Partiron
- OEM Parts
- Honda
- MOTORCYCLE
- 1986
- XR600RA (86) MOTORCYCLE, JPN, VIN# JH2PE040-GK100003 TO JH2PE040-GK104177
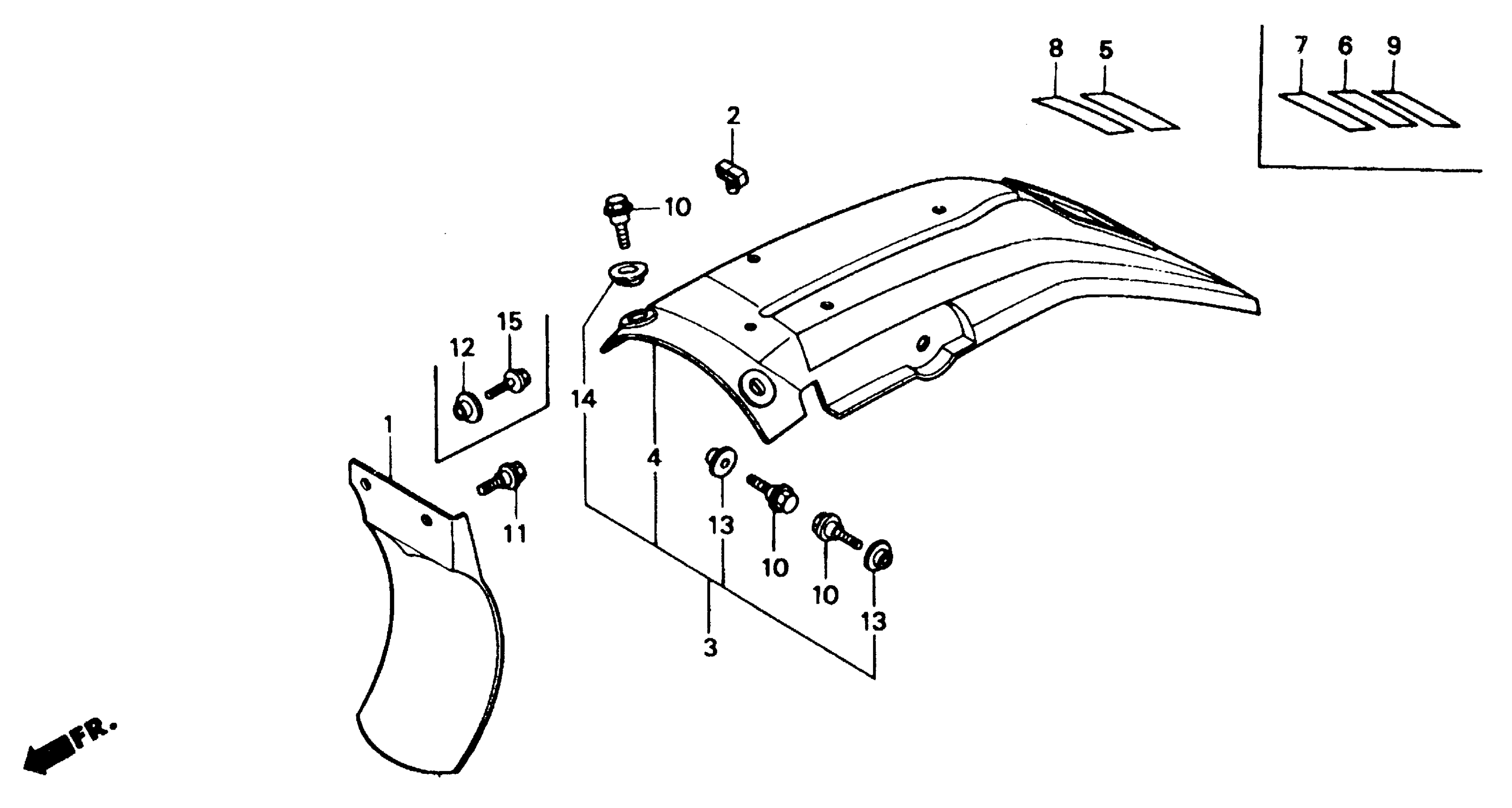
REAR FENDER
Honda XR600RA (86) MOTORCYCLE, JPN, VIN# JH2PE040-GK100003 TO JH2PE040-GK104177 REAR FENDER Diagram
#
Description
Price
3
FENDER, RR. *R119* (FLASH RED) This part replaces 80100-KN5-670ZA.
80100-MN1-670ZA
Unavailable
3
FENDER, RR. *R119* (FLASH RED)
80100-MN1-670ZA
Unavailable
6
LABEL, USE CAUTION *NH1* (BLACK) (NOT AVAILABLE) This part replaces 87504-130-720ZB.
87504-130-720ZA
Unavailable
7
LABEL, OPERATOR WARNING *NH0* (CHAMPIONSHIP WHITE)
87510-147-670ZB
Unavailable
9
MARK, DRIVE CAUTION *NH0* (TYPEW) (CHAMPIONSHIP WHITE)
87560-181-760ZB
Unavailable
