Partiron

Honda XR50RA (03) MOTORCYCLE, JPN, VIN# JH2AE030-3K300001 STEP Diagram

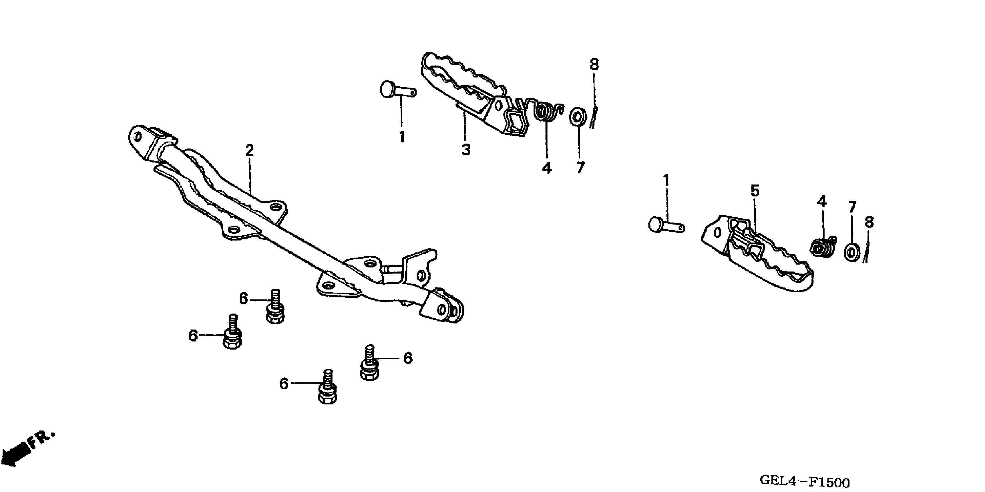
#

Description
Price

1

PIN, STEP BAR JOINT

50603-033-010

$3.30

2

BAR, STEP

50610-GEL-770

Unavailable

3

ARM, R. STEP

50616-GEL-770

Unavailable

4

SPRING, STEP RETURN This part replaces 50617-GW8-670.

50617-181-770

$6.67

4

SPRING, STEP RETURN

50617-181-770

$6.67

5

ARM, L. STEP

50642-GEL-770

Unavailable

6

BOLT-WASHER (8X20)

93402-08020-00

$1.92

7

WASHER, PLAIN (8MM)

94102-08000

$1.49

8

PIN, SPLIT (2.0X15)

94201-20150

$1.49