- Partiron
- OEM Parts
- Honda
- MOTORCYCLE
- 1989
- XR250RA (89) MOTORCYCLE, JPN, VIN# JH2ME060-KK500001 TO JH2ME060-KK503076
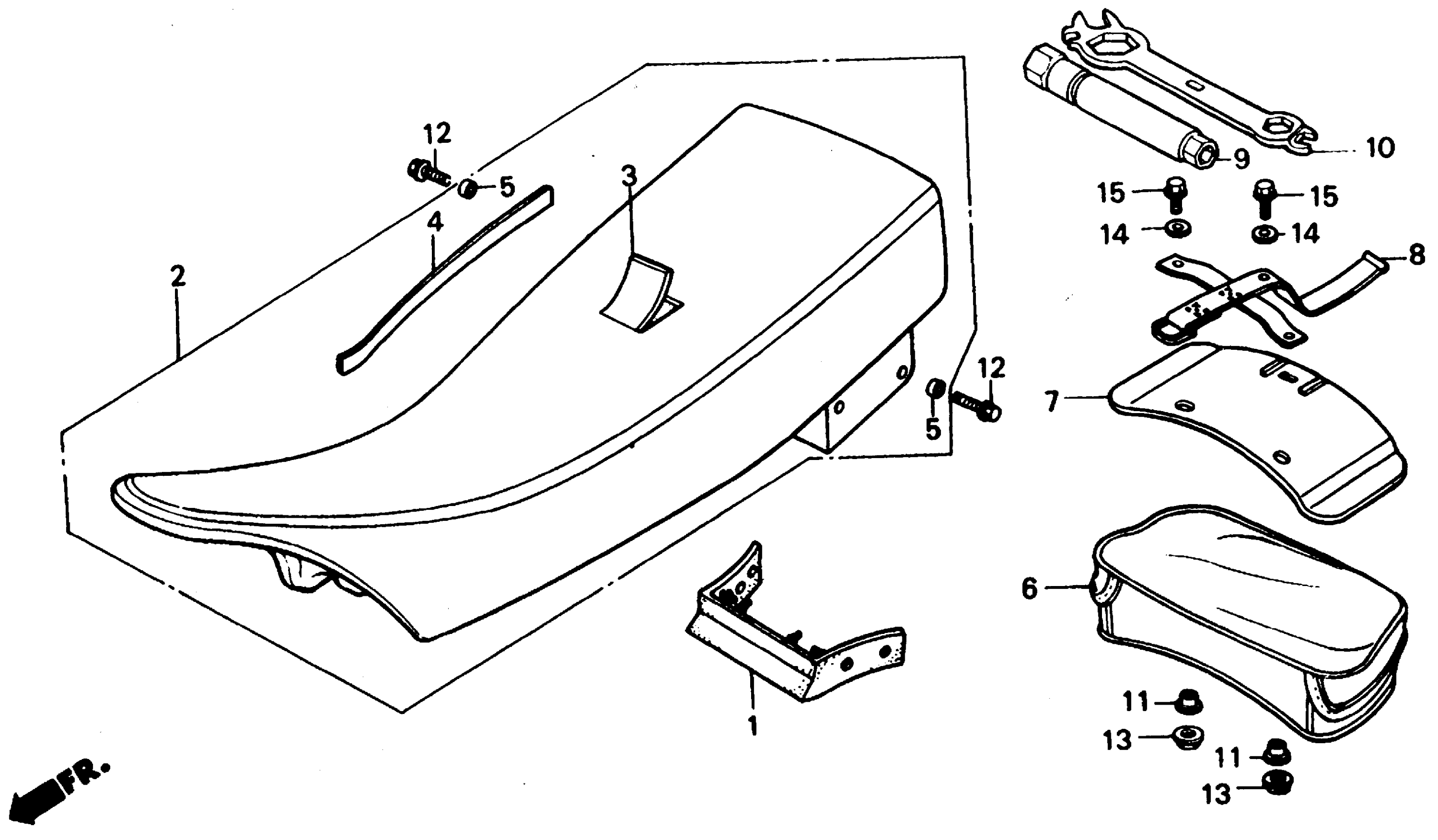
SEAT 86-91
Honda XR250RA (89) MOTORCYCLE, JPN, VIN# JH2ME060-KK500001 TO JH2ME060-KK503076 SEAT 86-91 Diagram
#
Description
Price
2
SEAT This part replaces 77200-KT1-900.
77200-KZ1-505
Unavailable
3
COVER, SEAT (NOT AVAILABLE) This part replaces 77201-KT1-306.
77201-KZ1-305
Unavailable
4
TAPE (NOT AVAILABLE)
77202-KT1-305
Unavailable
6
BAG, TAIL (NOT AVAILABLE)
83501-MN1-770
Unavailable
8
BAND, TAIL BAG (NOT AVAILABLE)
83506-KN5-670
Unavailable
10
WRENCH, EYE (24MM)
89225-KF0-000
Unavailable
