- Partiron
- OEM Parts
- Honda
- MOTORCYCLE
- 1982
- XR250RA (82) MOTORCYCLE, JPN, VIN# JH2ME010-CM300008
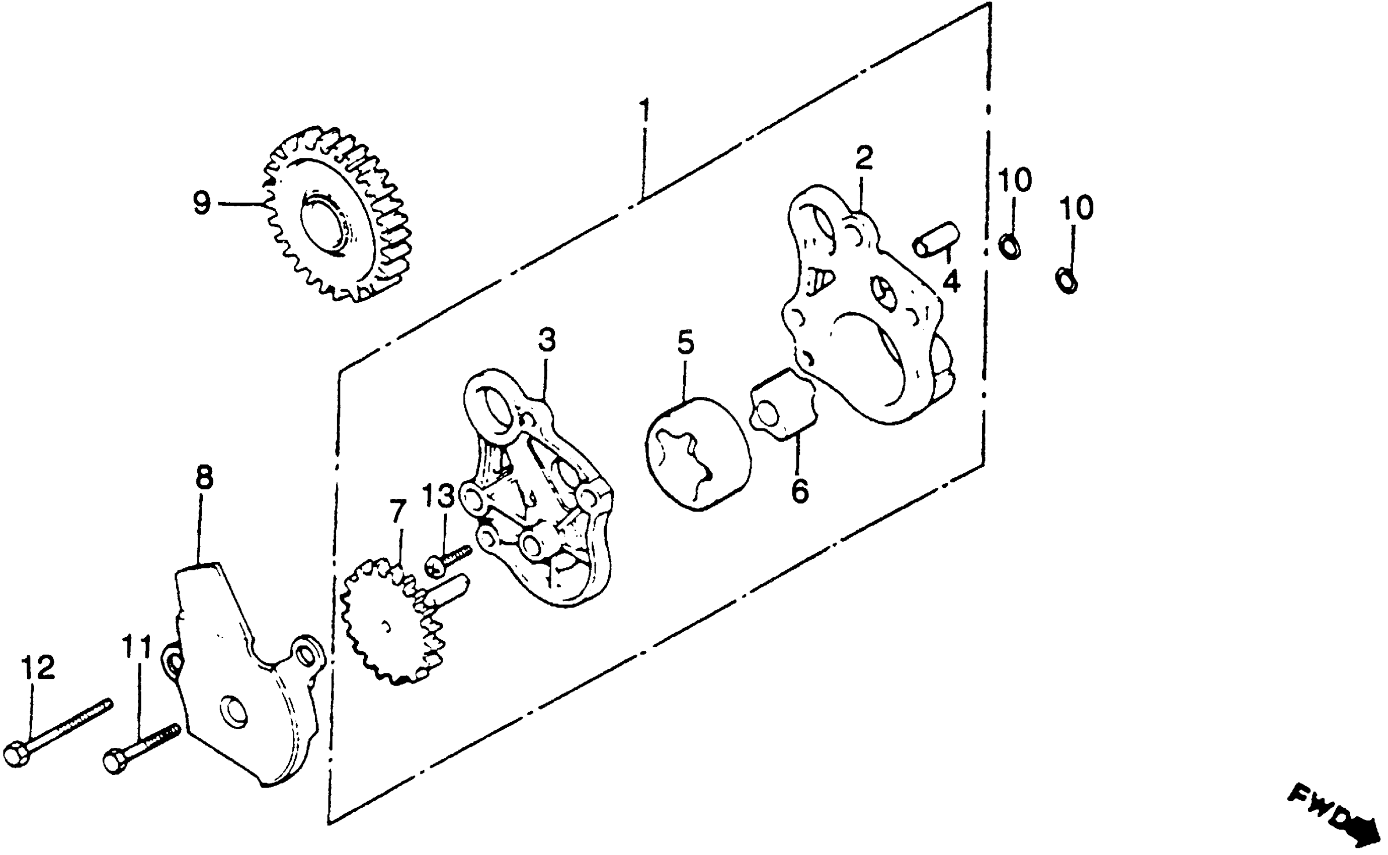
OIL PUMP
Honda XR250RA (82) MOTORCYCLE, JPN, VIN# JH2ME010-CM300008 OIL PUMP Diagram
#
Description
Price
1
PUMP ASSY., OIL (NOT AVAILABLE)
15100-428-000
Unavailable
2
BODY, OIL PUMP (NOT AVAILABLE)
15111-428-000
Unavailable
3
COVER, OIL PUMP (NOT AVAILABLE)
15121-428-000
Unavailable
5
PIN, DOWEL (8X18)
15122-428-000
Unavailable
7
GEAR, OIL PUMP DRIVE (18T) (NOT AVAILABLE)
15130-428-000
Unavailable
8
PLATE, OIL PUMP SETTING (NOT AVAILABLE) | Use up to Engine SN 5306772 This part replaces 15197-428-010.
15197-MC8-000
Unavailable
8
PLATE, OIL PUMP SETTING (NOT AVAILABLE)
15197-MC8-000
Unavailable
9
GEAR, KICK STARTER IDLE (24T)
28221-429-010
Unavailable
10
O-RING (6.8X1.9) | Use from Engine SN 5306043 This part replaces 91302-HA0-004.
91306-PJ4-000
$3.01
