- Partiron
- OEM Parts
- Honda
- MOTORCYCLE
- 1996
- XR250LA (96) MOTORCYCLE, JPN, VIN# JH2MD220-TM500001
FRONT FORK
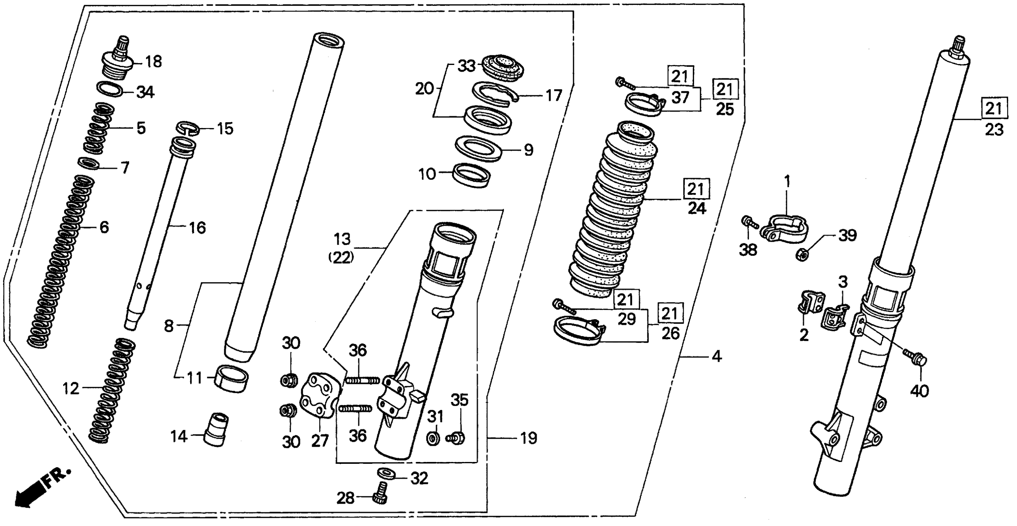
Honda XR250LA (96) MOTORCYCLE, JPN, VIN# JH2MD220-TM500001 FRONT FORK Diagram
#
Description
Price
1
CLAMP, SPEEDOMETER CABLE
44832-MG2-700
Unavailable
5
SPRING A, FR. FORK
51401-KV6-671
Unavailable
6
SPRING B, FR. FORK
51402-KV6-671
Unavailable
8
PIPE, FR. FORK
51410-KV6-671
Unavailable
9
RING, BACK-UP
51412-KF0-003
Unavailable
13
CASE, R. (LOWER)
51420-KAE-013
Unavailable
14
PIECE, OIL LOCK (SHOWA)
51432-KAE-003
Unavailable
16
PIPE, SEAT
51440-KV6-671
Unavailable
19
FORK SUB-ASSY., R. FR. (SHOWA)
51480-KV6-315
Unavailable
22
CASE, L. (LOWER)
51520-KAE-013
Unavailable
23
FORK SUB-ASSY., L. FR. (SHOWA)
51580-KV6-315
Unavailable
24
BOOT, FR. FORK *P9* (URANUS VIOLET)
51611-KN5-003ZH
Unavailable
