- Partiron
- OEM Parts
- Honda
- MOTORCYCLE
- 2001
- XR200RA (01) MOTORCYCLE, JPN, VIN# JH2ME050-1K500001
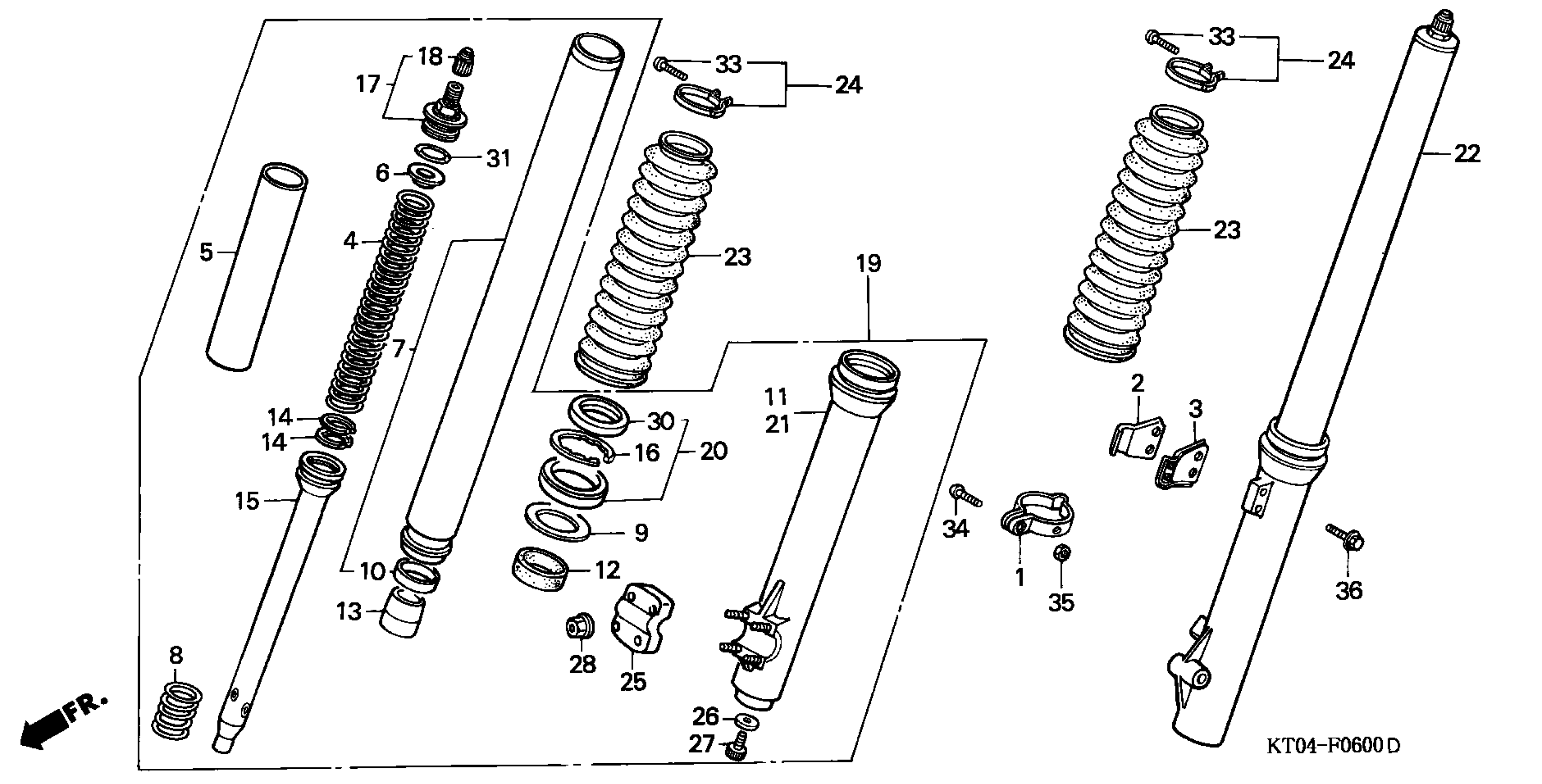
FRONT FORK
Honda XR200RA (01) MOTORCYCLE, JPN, VIN# JH2ME050-1K500001 FRONT FORK Diagram
#
Description
Price
1
CLAMP, SPEEDOMETER CABLE | (Optional).
44832-KK0-000
Unavailable
2
CLAMP A, FR. BRAKE CABLE
45461-KG0-000
Unavailable
3
CLAMP B, FR. BRAKE CABLE
45462-KG0-000
Unavailable
4
SPRING, FR. FORK
51401-KT0-691
Unavailable
5
SPACER, R. SPRING
51402-ML0-004
Unavailable
6
GUIDE, SPRING
51403-KK0-004
Unavailable
7
PIPE, FR. FORK
51410-KT0-691
Unavailable
8
SPRING, FR. REBOUND
51411-KK0-004
Unavailable
9
WASHER
51412-KK0-004
Unavailable
10
SLEEVE, FORK PIPE
51415-KK0-004
Unavailable
11
CASE, R. (LOWER)
51420-KK0-014
Unavailable
12
BUSH, FORK PIPE
51424-KK0-004
Unavailable
13
PIECE, OIL LOCK
51432-KK0-004
Unavailable
14
RING, PISTON
51437-KK0-004
Unavailable
15
PIPE, SEAT
51440-KT0-691
Unavailable
17
BOLT ASSY., FR. FORK
51450-KK0-004
Unavailable
19
FORK SUB-ASSY., R. FR. (KAYABA)
51480-KT0-315
Unavailable
21
CASE, L. (LOWER)
51520-KK0-014
Unavailable
23
BOOT, FR. FORK *NH1* (BLACK)
51611-KT0-681ZD
Unavailable
24
BAND, BOOT (UPPER)
51612-KA3-711
Unavailable
25
HOLDER, AXLE
51634-KT0-671
Unavailable
30
DUST SEAL (36MM)
91254-KK0-004
Unavailable
31
O-RING (26.57X3.53)
91356-KK0-004
Unavailable
