- Partiron
- OEM Parts
- Honda
- MOTORCYCLE
- 1984
- XR200A (84) MOTORCYCLE, JPN, VIN# JH2ME020-EK500001
FRONT FORK 82-84
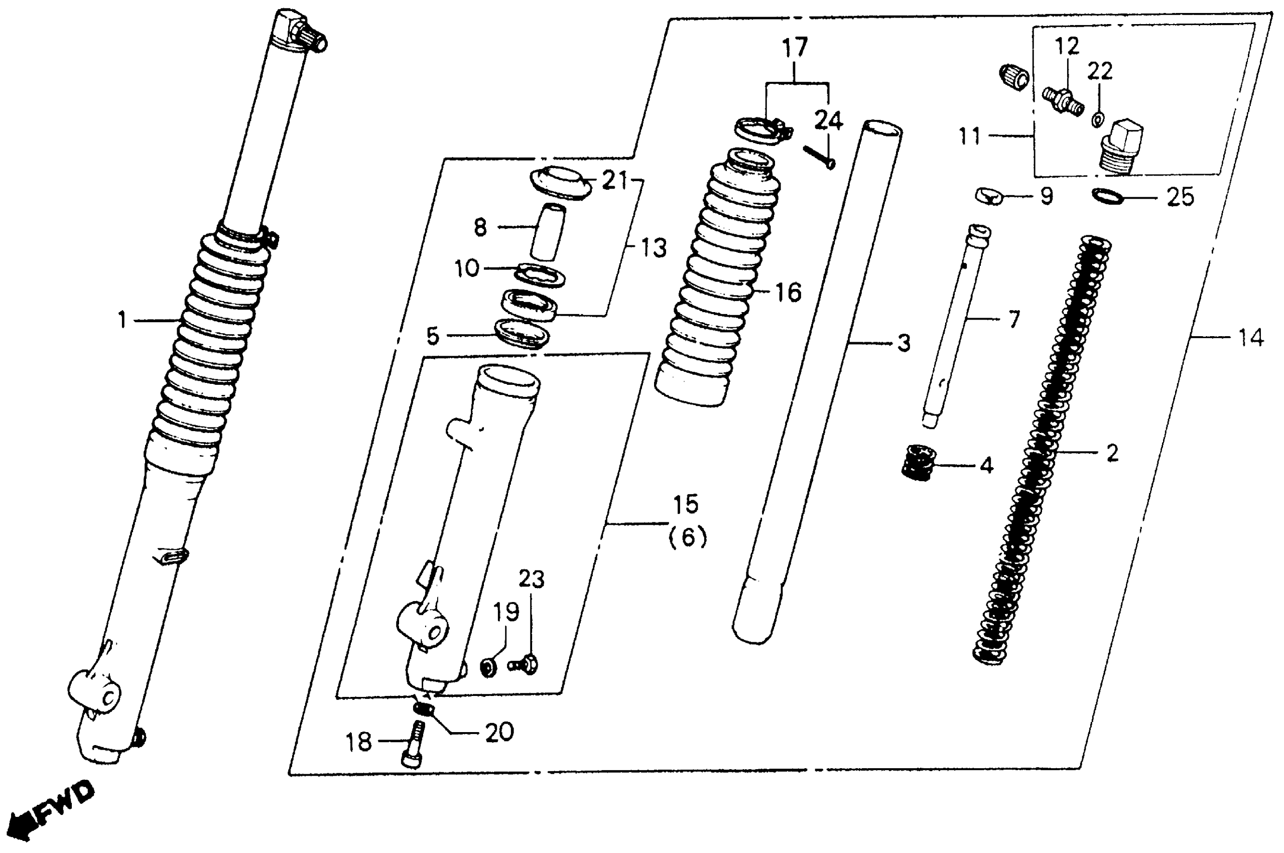
Honda XR200A (84) MOTORCYCLE, JPN, VIN# JH2ME020-EK500001 FRONT FORK 82-84 Diagram
#
Description
Price
1
SHOCK ABSORBER ASSY., R. FR.
51400-446-741
Unavailable
2
SPRING, FR. FORK (NOT AVAILABLE)
51401-446-741
Unavailable
3
PIPE, FR. FORK
51410-437-003
Unavailable
5
RING, BACK-UP
51412-446-003
Unavailable
6
CASE, R. (LOWER)
51421-446-741
Unavailable
7
RING, PISTON
51437-373-781
Unavailable
8
PIPE, SEAT (NOT AVAILABLE)
51440-446-003
Unavailable
10
CIRCLIP (INNER) (43MM) (NOT AVAILABLE)
51447-KB2-003
Unavailable
11
BOLT ASSY., FR. FORK
51450-427-761
Unavailable
14
SHOCK ABSORBER ASSY., L. FR.
51500-446-741
Unavailable
15
CASE, L. (LOWER)
51521-446-741
Unavailable
16
BOOT, FR. FORK *NH1D* (BLACK)
51611-446-770
Unavailable
17
BAND, FR. FORK BOOT
51612-446-003
Unavailable
21
DUST SEAL (31MM) (NOT AVAILABLE)
91254-446-003
Unavailable
