Partiron

Honda XR100RA (02) MOTORCYCLE, JPN, VIN# JH2HE030-2K100001 STEP Diagram

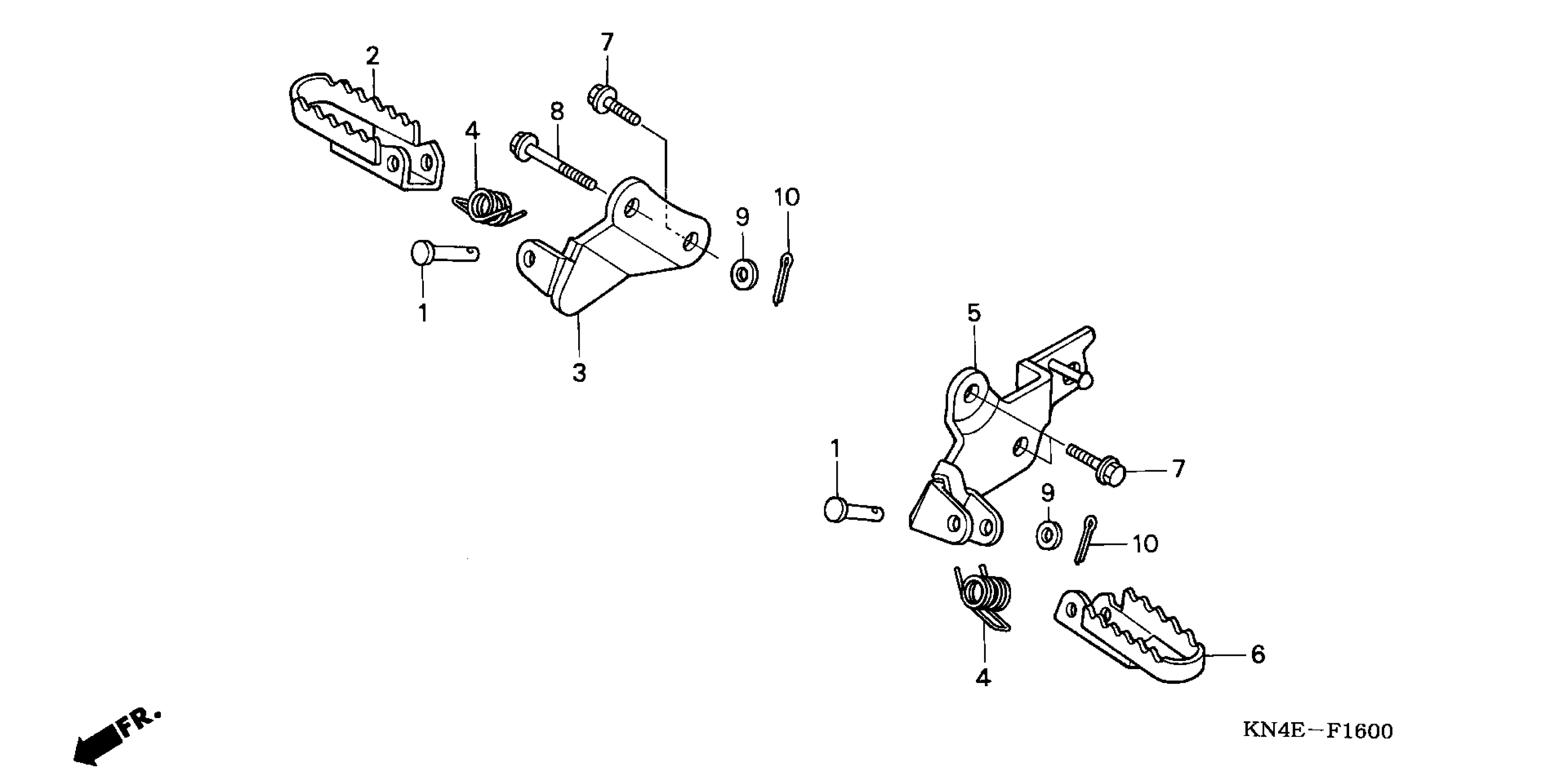
#

Description
Price

1

PIN, STEP BAR JOINT

50603-033-010

$3.30

2

STEP, R. (COO) This part replaces 50612-KN4-A60.

50612-KSJ-305

$19.82

2

STEP, R. (COO)

50612-KSJ-305

$19.82

3

BRACKET, R. STEP *NH146M* (ACCURATE SILVER METALLIC)

50615-GN1-000ZC

$19.26

4

SPRING, FOOTPEG RETURN SPRING, STEP RETURN

50617-MA0-770

$5.80

4

SPRING, FOOTPEG RETURN This part replaces 50617-466-000.

50617-MA0-770

$5.80

5

BRACKET, L. STEP *NH146M* (ACCURATE SILVER METALLIC)

50624-GN1-000ZC

$27.11

6

STEP, L. (COO) This part replaces 50642-KN4-A60.

50642-KSJ-305

$18.14

6

STEP, L. (COO)

50642-KSJ-305

$18.14

7

BOLT, FLANGE (10X25)

90105-GN1-000

$5.48

8

BOLT, SPECIAL (10X55)

90106-GN1-000

$5.48

9

WASHER, PLAIN (8MM)

94101-08000

$1.49

10

PIN, COTTER (2.0X15)

94201-20150

$1.49