- Partiron
- OEM Parts
- Polaris
- ATV
- 1998
- XPRESS 300 - W98CA28C
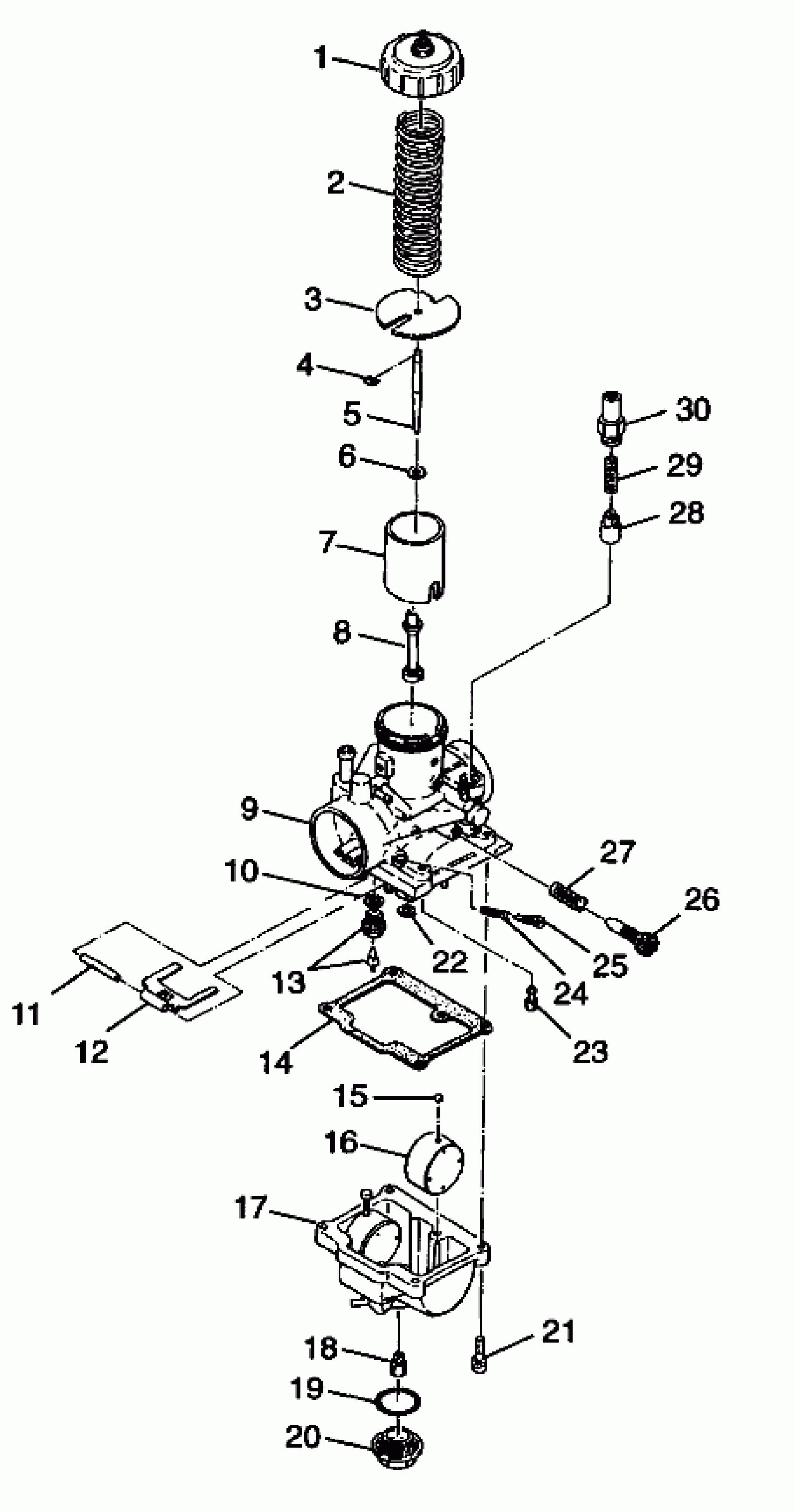
CARBURETOR XPRESS 300 W98CA28C (4945364536D002)
Polaris XPRESS 300 - W98CA28C CARBURETOR XPRESS 300 W98CA28C (4945364536D002) Diagram
#
Description
Price
4
E RING(10) Substituted by 3130508
3130003
Unavailable
7
VALVE,THROTTLE,(2.0) (2.0)
3130420
Unavailable
9
CARBURETOR (Incl. 1-30)
3130498
Unavailable
18
JET,MAIN,HX.HD.#155 (#155)
3130114
Unavailable
19
O RING
3130239
Unavailable
