- Partiron
- OEM Parts
- Polaris
- ATV
- 1997
- XPRESS 300 - W97CA28C
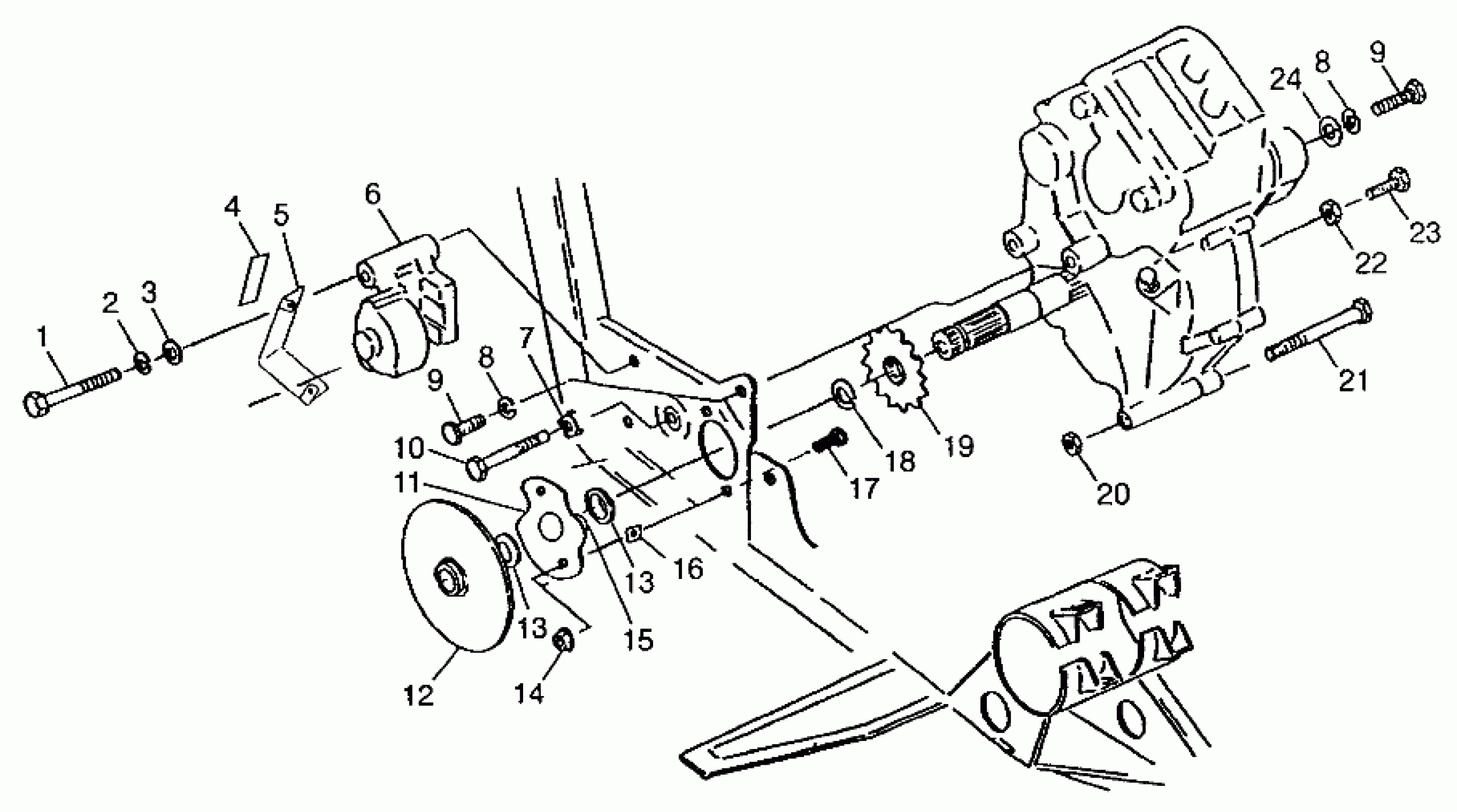
GEARCASE/BRAKE and CHAIN COVER MOUNTING XPRESS 300 W97CA28C and XPRESS 400 (4939603960C009)
Polaris XPRESS 300 - W97CA28C GEARCASE/BRAKE and CHAIN COVER MOUNTING XPRESS 300 W97CA28C and XPRESS 400 (4939603960C009) Diagram
#
Description
Price
4
DECAL,BRAKE SHIELD
7075339
Unavailable
5
SHIELD,R.CALIPER,BLK.
5241018-067
Unavailable
6
CALIPER ASM,R.BRAKE
1910226
Unavailable
7
Plate, Bolt Lock (See Pg. A31, Ref. 2)
-------
Unavailable
10
Bolt, Shoulder (See Pg. A31, Ref. 19)
-------
Unavailable
12
DISC ASM,BRAKE
1910177
Unavailable
16
SPACER,(10)
5210764
Unavailable
16
SHIM,.010,GEARCASE
5211065
Unavailable
16
SHIM,(.030) Note: Use shims only with Output Shaft Bearing PN 1590237
5211517
Unavailable
17
BOLT,CARRIAGE(10)
7515484
Unavailable
24
WASHER Substituted by 7555720
7555784
Unavailable
