Partiron

Polaris XPRESS 300 - A99CA28CA COOLING SYSTEM - A99CA28CA (4949444944a011) Diagram

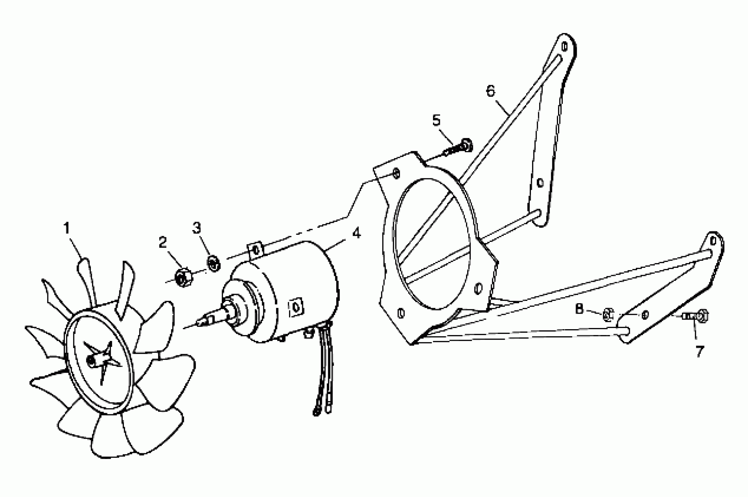
#

Description
Price

1

BLADE,FAN

5432619

$62.39

2

Nut

7547004

$4.79

3

WASHER, FLAT(10)

7558201

$5.79

4

MOTOR,FAN,AIR COOL,D SHAFT

4170014

Unavailable

5

SCREW(10)

7511875

$4.79

6

MOUNT,FAN,300,BLK

1040568-067

$28.15

7

SCREW(10)

7512113

$3.99

8

NUT-LOCK(10)

7542122

$1.49