Partiron

Polaris XPLORER 500 - W97CD50A REAR DRIVE SHAFT - W97CD50A (4941354135B004) Diagram

#

Description
Price

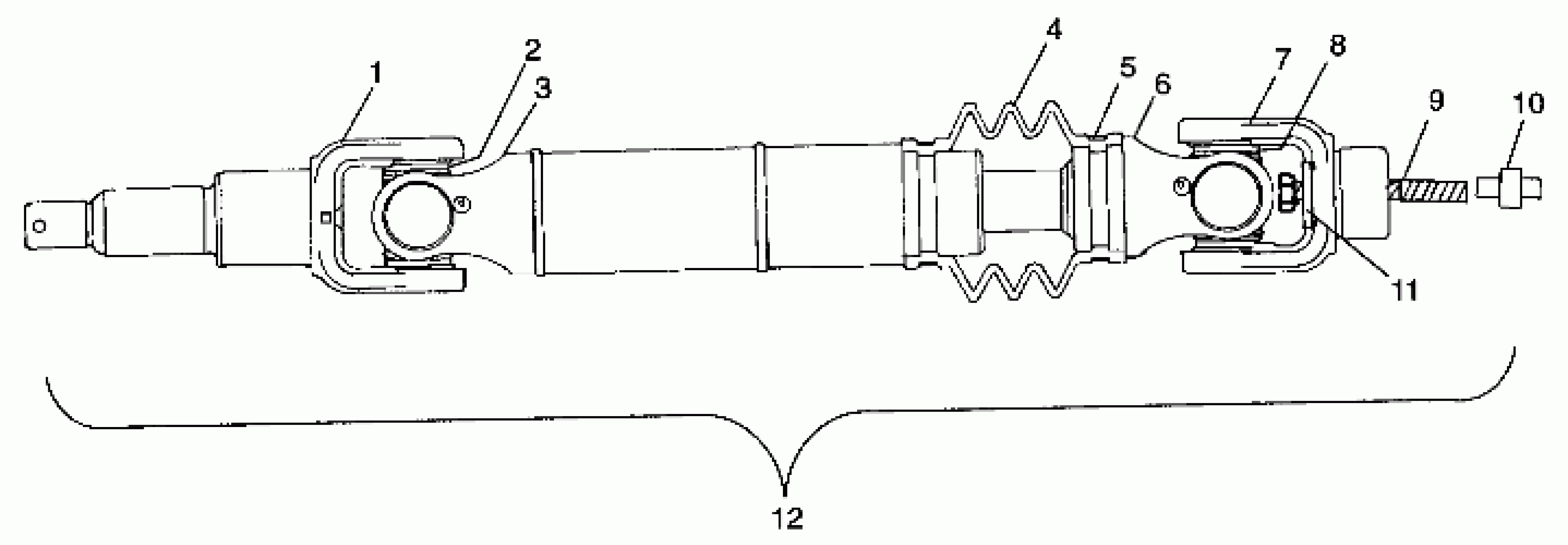
1

YOKE,WHEEL END

3260137

Unavailable

2

JOINT,ASM.CARDAN,1200 SERIES

1590257

$47.99

3

YOKE TUBE & SLEEVE Substituted by 3260134

5131806

Unavailable

4

BOOT,SHAFT,R.HALF

5411161

$43.99

5

CLAMP, (BOOT)

5241755

$27.99

6

YOKE,SHAFT

3260138

$218.24

7

YOKE,TRANSMISSION

3260135

Unavailable

8

JOINT,ASM,CARDAN 1800 SERIES

1590256

$55.99

9

BOLT Substituted by 7515491

7515433

$1.59

10

SPACER,HALFSHAFT ATTACH.

5020890

Unavailable

11

WSHR-.813X.406X.105-Y

7555832

$2.39

12

DRIVESHAFT ASM,REAR (Incl. 1-11)

1380110

Unavailable