- Partiron
- OEM Parts
- Polaris
- ATV
- 1997
- XPLORER 500 - W97CD50A
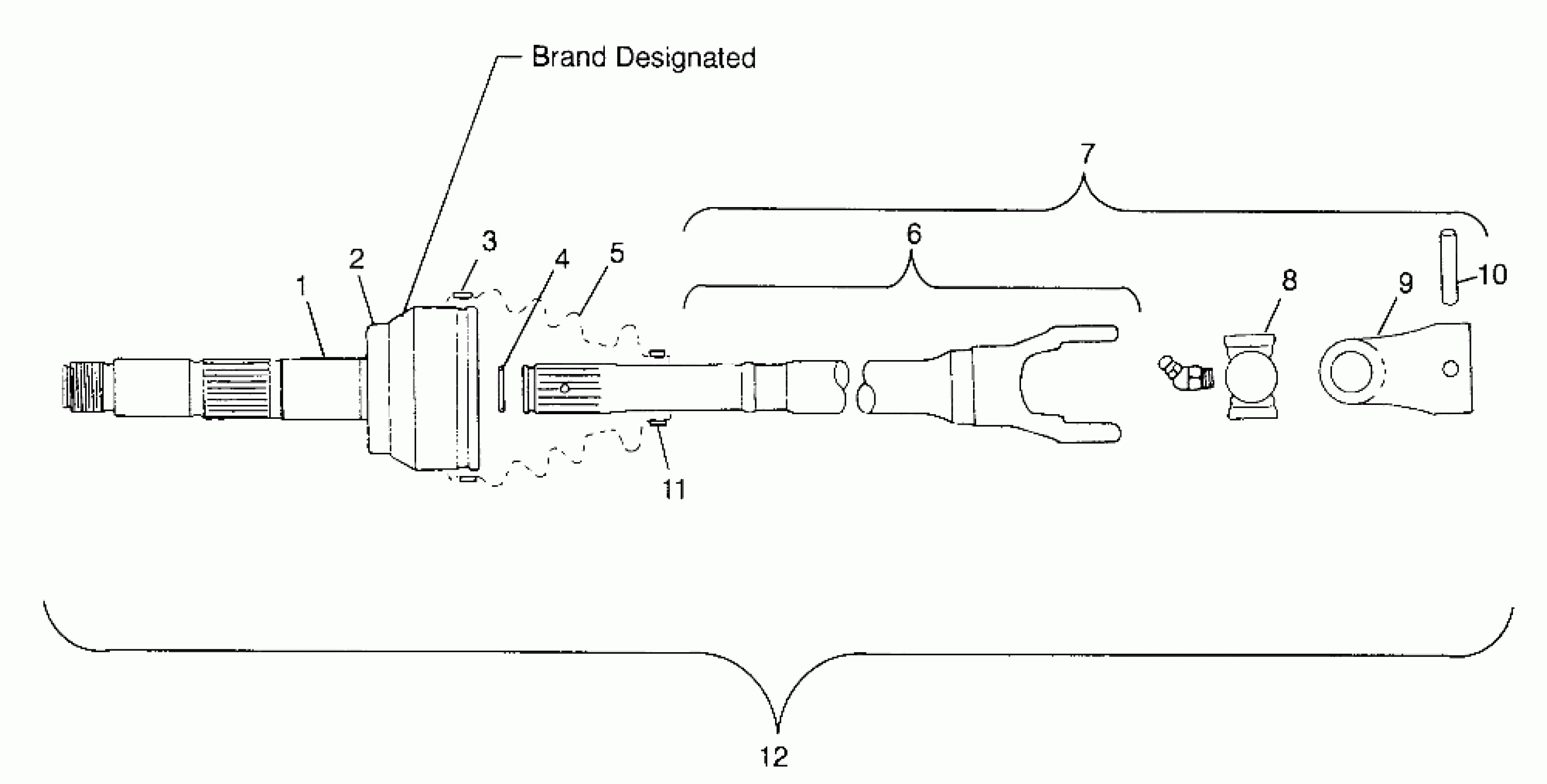
CV JOINT - NEAPCO - W97CD50A (4941354135B003)
Polaris XPLORER 500 - W97CD50A CV JOINT - NEAPCO - W97CD50A (4941354135B003) Diagram
#
Description
Price
7
CARDAN WELD. (Incl. 4,6,8,9)
1380061
Unavailable
9
Yoke
3260101
Unavailable
