- Partiron
- OEM Parts
- Polaris
- ATV
- 1998
- XPLORER 400L - W98CC38C
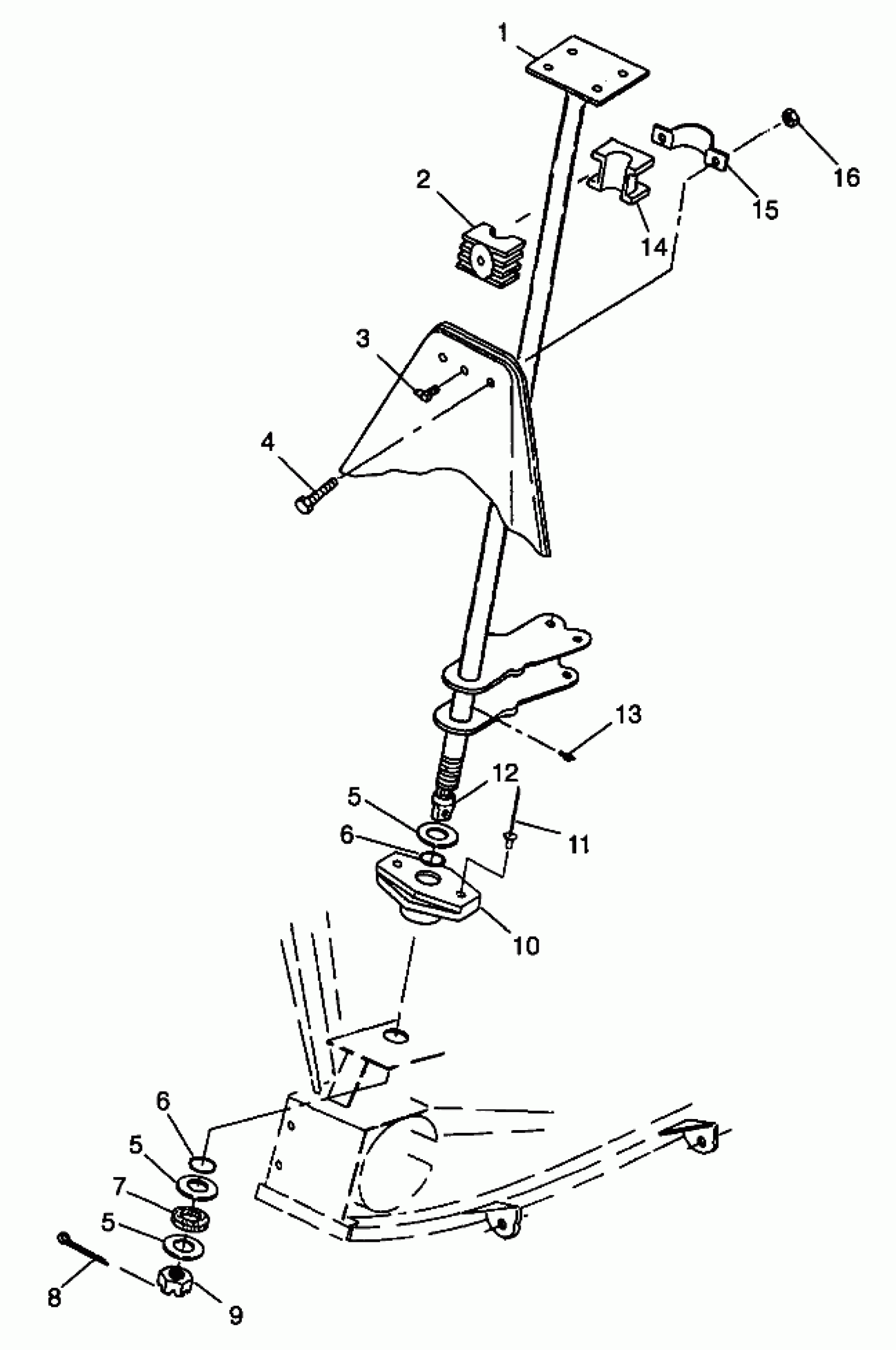
STEERING POST XPLORER 400L W98CC38C (4945414541B010)
Polaris XPLORER 400L - W98CC38C STEERING POST XPLORER 400L W98CC38C (4945414541B010) Diagram
#
Description
Price
1
POST,STRG.ASM. (Incl. 12, 13)
1843051
Unavailable
7
SPACER, STRG.POST
5431571
Unavailable
8
PIN, COTTER(10)
7661633
Unavailable
12
PLUG,GREASE,STRG.
5431574
Unavailable
