- Partiron
- OEM Parts
- Polaris
- ATV
- 1998
- XPLORER 400L - W98CC38C
REAR BRAKE XPLORER 400L W98CC38C (4945414541C006)
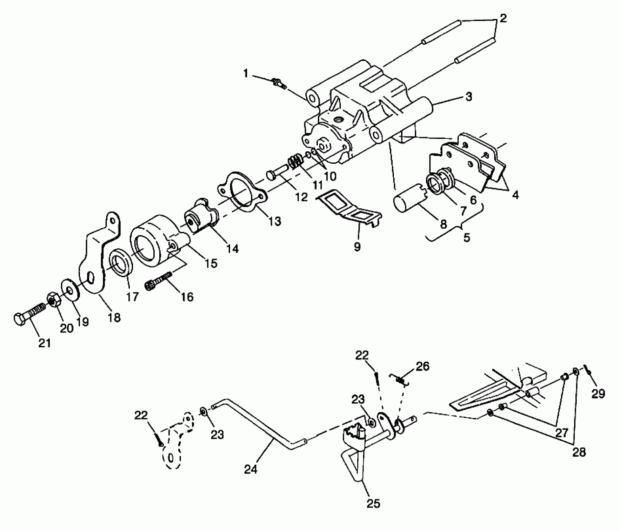
Polaris XPLORER 400L - W98CC38C REAR BRAKE XPLORER 400L W98CC38C (4945414541C006) Diagram
#
Description
Price
3
CALIPER ASM,R.BRAKE
1910226
Unavailable
3
CALIPER,R.BRAKE,MACH
5131272
Unavailable
4
KIT,R.BRAKEPAD,HVY.DUTY
2200899
Unavailable
4
KIT,REAR BRAKEPADS,ATV
2201150
Unavailable
7
RING, SQUARE,(1''DIAM.) Substituted by 2200463 (.099 Sq.)
5410767
Unavailable
9
SPRING,ANTI-RATTLE
5240993
Unavailable
10
O RING-.364X.504X.07
5410542
Unavailable
12
PIN,BRAKE CALIPER
5020666
Unavailable
14
RAMP,MOVE.BRAKE(D/C)
5630651
Unavailable
15
RAMP,STAT.BRAKE(D/C)
5630652
Unavailable
16
SCREW(10)
7512173
Unavailable
18
ARM, BRAKE CALIPER
5211692
Unavailable
19
WASHER, SPRING(10)
7555828
Unavailable
21
BOLT
7515145
Unavailable
21
BOLT
7515145
Unavailable
