- Partiron
- OEM Parts
- Polaris
- ATV
- 1998
- XPLORER 400L - W98CC38C
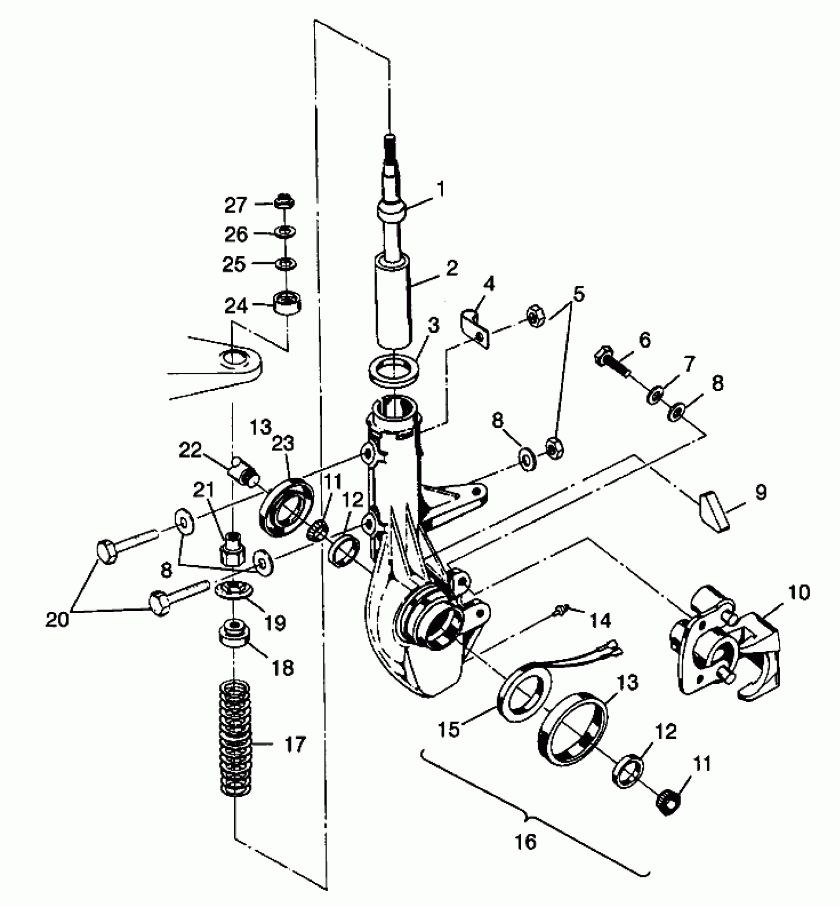
FRONT STRUT XPLORER 400L W98CC38C (4945414541B004)
Polaris XPLORER 400L - W98CC38C FRONT STRUT XPLORER 400L W98CC38C (4945414541B004) Diagram
#
Description
Price
1
BUMPER, STRUT Substituted by 5411468
5410791
Unavailable
9
RETAINER,WIRE,STRUT CAST
5810439
Unavailable
10
Asm., Front Brake Caliper, RH (See Pg. NO TAG for Details)
-------
Unavailable
16
HUBSTRUT ASM,LH (Incl. 9, 12-15, 23)
2200975
Unavailable
16
HUBSTRUT ASM,RH (Incl. 9, 12-15, 23)
2200976
Unavailable
18
RETAINER,SPRING,TOP
5220602
Unavailable
19
PIVOT BALL,BOTTOM Substituted by 5432871
5430807
Unavailable
22
Drive Shaft w/Sleeve (See Pg. NO TAG, Ref. NO TAG)
-------
Unavailable
24
PIVOT BALL, TOP Substituted by 5432872
5430806
Unavailable
