- Partiron
- OEM Parts
- Polaris
- ATV
- 1998
- XPLORER 400L - W98CC38C
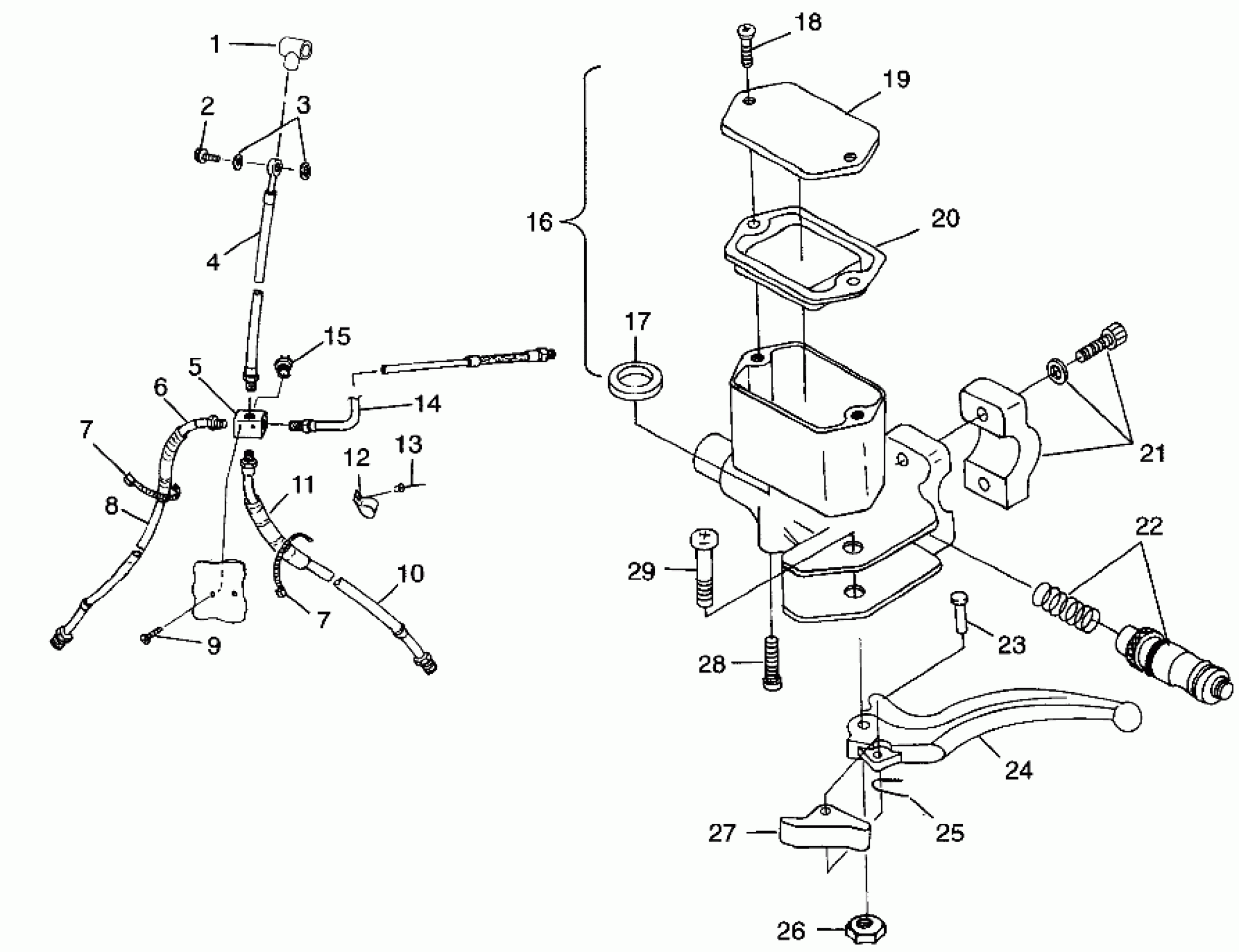
CONTROLS-MASTER CYLINDER/BRAKE LINE XPLORER 400L W98CC38C (4945414541B009)
Polaris XPLORER 400L - W98CC38C CONTROLS-MASTER CYLINDER/BRAKE LINE XPLORER 400L W98CC38C (4945414541B009) Diagram
#
Description
Price
2
BOLT,BANJO,BRAKE
1930674
Unavailable
4
LINE,HYD.BRAKE,POD Substituted by 1930817
1930760
Unavailable
5
FITTING,CROSS INVERT.FLARE
7052103
Unavailable
7
STRAP, BLK
7080272
Unavailable
7
STRAP, BLK
7080272
Unavailable
11
CONDUIT, 30 CM. Substituted by 8360011-34
8360031-30
Unavailable
14
LINE,BRAKE,REAR
1930751
Unavailable
15
SWITCH,STOPLIGHT
4110164
Unavailable
17
Ring, Square, Master Cylinder
-------
Unavailable
19
CAP,M.CYL.RES.
1930796
Unavailable
21
KIT,M.CYL.CLAMP
2200808
Unavailable
23
Rivet
1930804
Unavailable
25
Spring
-------
Unavailable
26
NUT,M.CYL.HANDLE PIVOT
1930806
Unavailable
29
BOLT,M.CYL.HANDLE PIVOT
1930805
Unavailable
