- Partiron
- OEM Parts
- Polaris
- ATV
- 1996
- XPLORER 400L - W969140
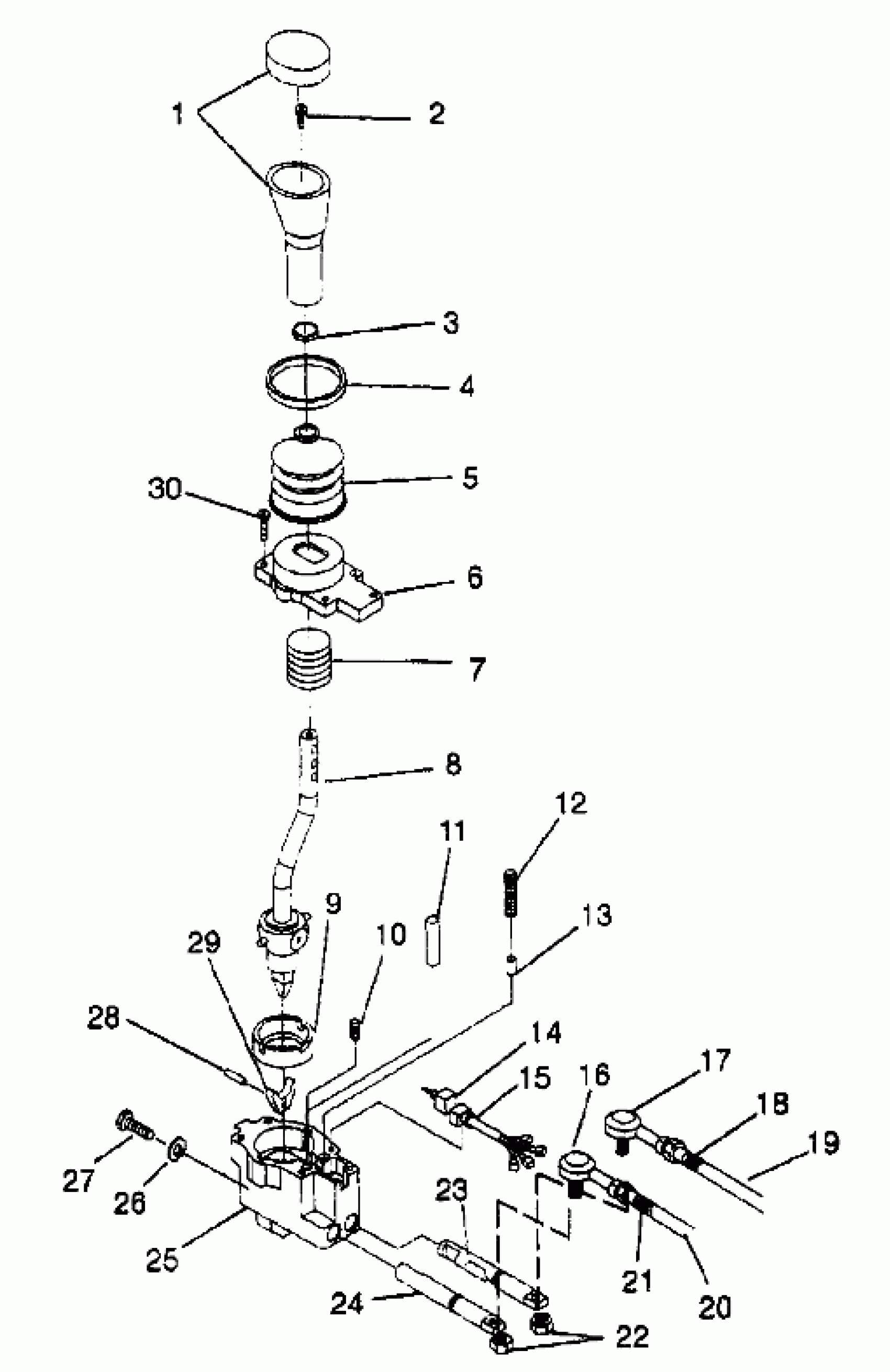
GEAR SELECTOR XPLORER 400L W969140 (4935983598C009)
Polaris XPLORER 400L - W969140 GEAR SELECTOR XPLORER 400L W969140 (4935983598C009) Diagram
#
Description
Price
-
SELECTOR ASM,GEAR (Incl. 1-15, 23-25, 28-30)
1341182
Unavailable
4
CLAMP
3233132
Unavailable
6
COVER,GEAR SELECTOR
3233213
Unavailable
7
SPRING,HOLDING
3233158
Unavailable
8
HANDLE SUBASM,(GS GEN IV)
3233197
Unavailable
10
SPRING,CENTERING
3233083
Unavailable
11
PIN, STOP
3233062
Unavailable
12
SPRING,DETENT
3233069
Unavailable
14
SWITCH,GEAR SELECTOR
3233223
Unavailable
19
ROD,LOW-RA.SHIFTLINK
5020730
Unavailable
20
ROD,HI-RA.SHIFTLINK
5020729
Unavailable
22
NUT(10) Substituted by 7546703
7546707
Unavailable
23
SLIDE ASM,HIGH/REV
3233217
Unavailable
24
SLIDE ASM,LOW
3233218
Unavailable
25
BODY,GEAR SELECTOR
3233216
Unavailable
27
BOLT(10)
7512269
Unavailable
28
PIN,INTERLOCK
3233070
Unavailable
29
INTERLOCK,BUTTERFLY
3233084
Unavailable
30
SCREW Substituted by 3233498
3233085
Unavailable
