- Partiron
- OEM Parts
- Polaris
- ATV
- 1999
- XPLORER 400 - A99CG38CA
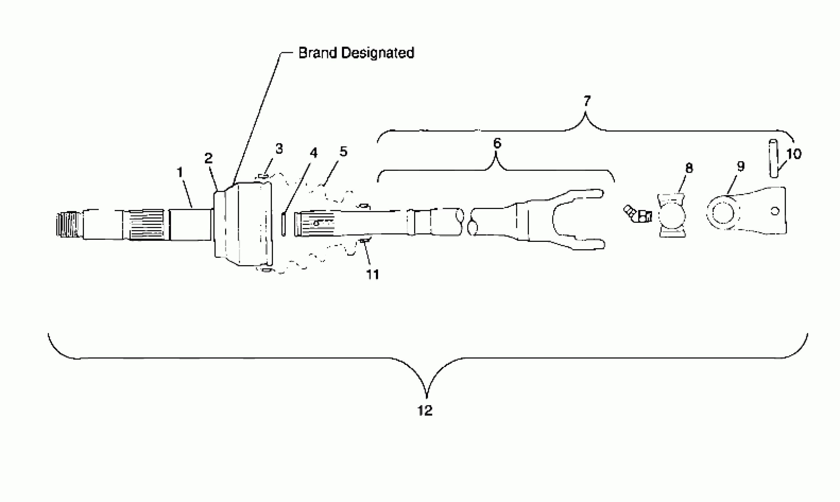
CV JOINT - NEAPCO - A99CG38CA (4949634963B005)
Polaris XPLORER 400 - A99CG38CA CV JOINT - NEAPCO - A99CG38CA (4949634963B005) Diagram
#
Description
Price
7
CARDAN WELD. (Incl. 4,6,8,9)
1380061
Unavailable
9
Yoke
3260101
Unavailable
