Polaris XPLORER 400 - A99CG38CA CARBURETOR - A99CG38CA (4949634963D005) Diagram
#
Description
Price
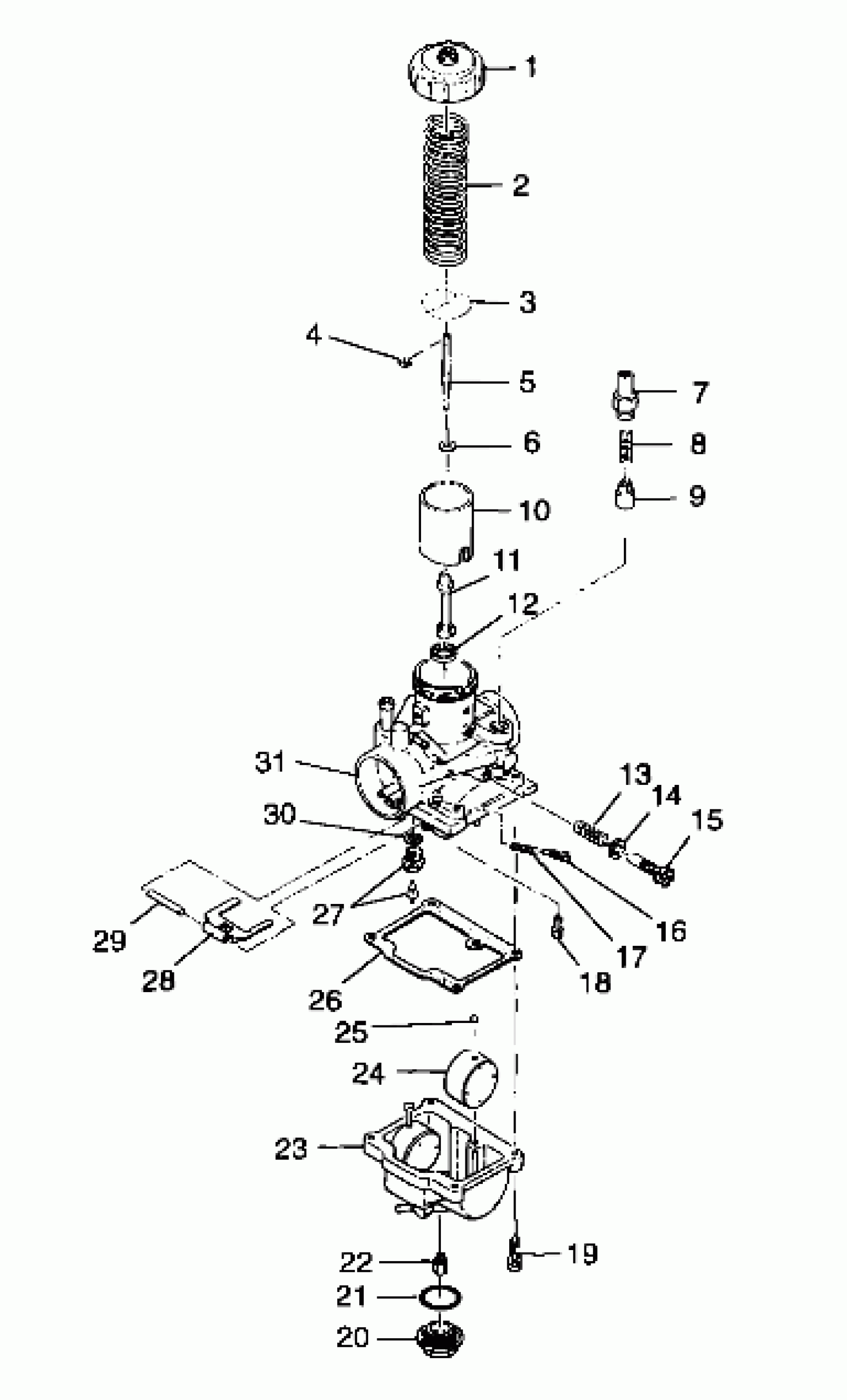
4
E RING(10) Substituted by 3130508
3130003
Unavailable
10
VALVE,THROTTLE,(1.5) (1.5)
3130494
Unavailable
11
NEEDLE JET ASM. (480)
3130429
Unavailable
12
RING,MAIN JET
3130596
Unavailable
13
SPRING,THROT.ADJ.
3130436
Unavailable
14
Washer
3130447
Unavailable
21
O RING
3130239
Unavailable
23
BOWL, FLOAT (350)
3130443
Unavailable
31
CARBURETOR ASM. (Incl. 1-31)
3130957
Unavailable
