- Partiron
- OEM Parts
- Polaris
- ATV
- 1996
- XPLORER 300 - W969130
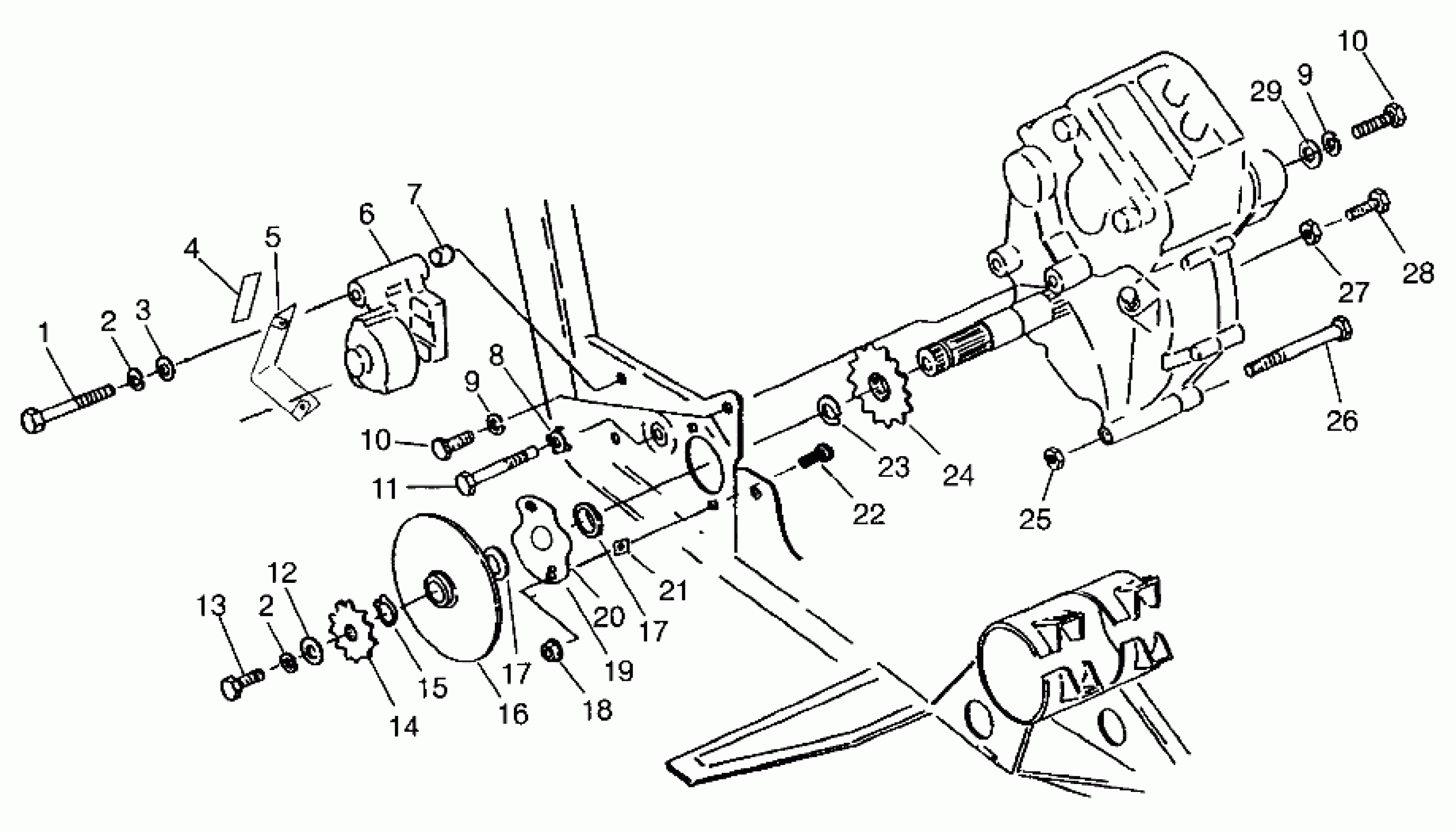
GEARCASE/BRAKE and CHAIN COVER MOUNTING XPLORER 300 W969130 (4935903590C005)
Polaris XPLORER 300 - W969130 GEARCASE/BRAKE and CHAIN COVER MOUNTING XPLORER 300 W969130 (4935903590C005) Diagram
#
Description
Price
4
DECAL,BRAKE SHIELD
7075339
Unavailable
5
DECAL,BRAKE SHIELD
7075339
Unavailable
5
SHIELD,R.CALIPER,BLK.
5241018-067
Unavailable
6
CALIPER ASM,R.BRAKE Substituted by 1910224
1910180
Unavailable
8
Plate, Bolt Lock (See Pg., Ref.)
-------
Unavailable
11
Bolt, Shoulder (See Pg., Ref.)
-------
Unavailable
16
DISC ASM,BRAKE
1910177
Unavailable
21
SPACER,(10)
5210764
Unavailable
21
SHIM,.010,GEARCASE
5211065
Unavailable
21
SHIM,(.030)
5211517
Unavailable
22
BOLT,CARRIAGE(10)
7515484
Unavailable
23
RING,RETAINING(10) Substituted by 7710434
3233047
Unavailable
29
WASHER Substituted by 7555720
7555784
Unavailable
