- Partiron
- OEM Parts
- Polaris
- ATV
- 1996
- XPLORER 300 - W969130
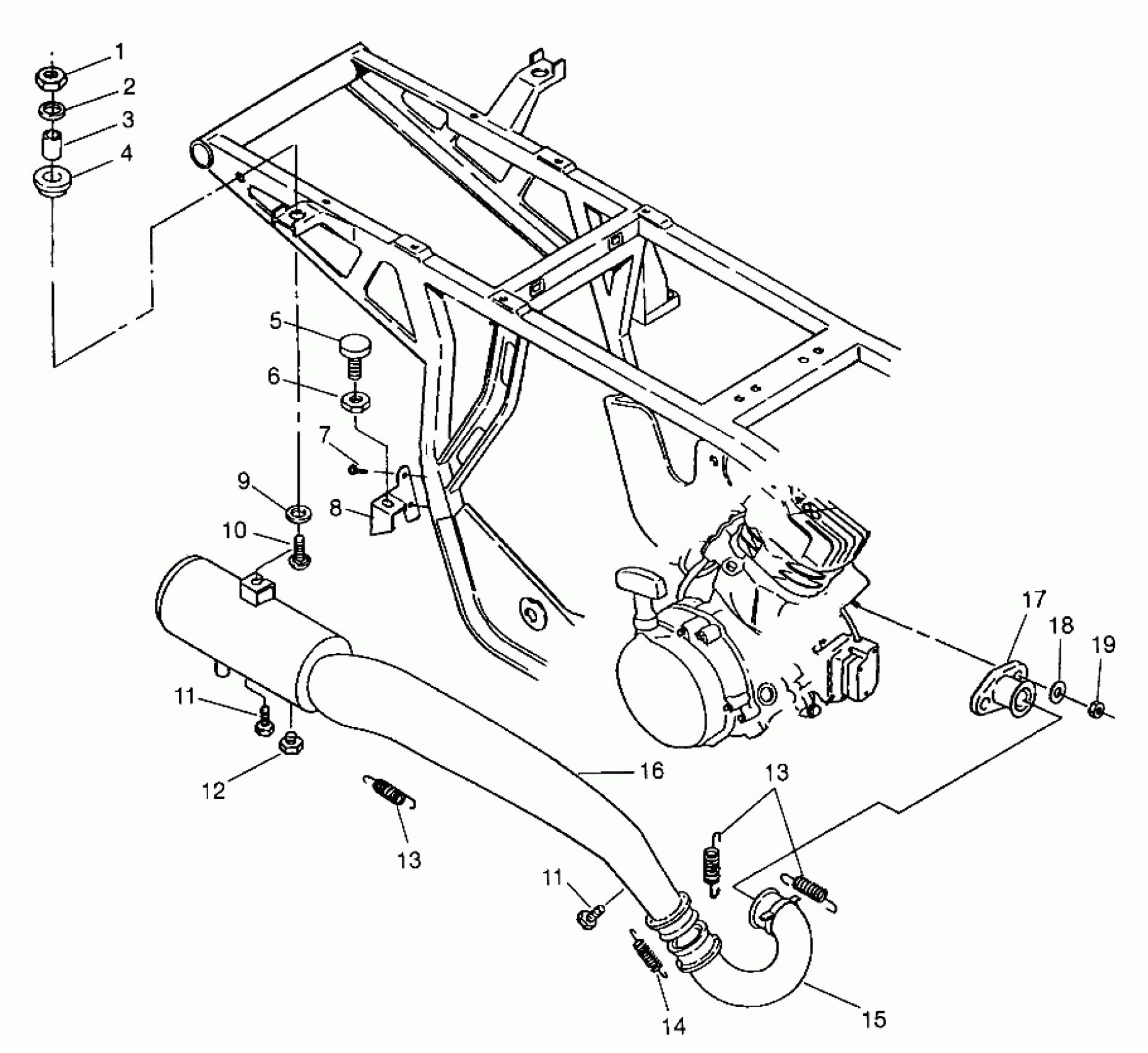
EXHAUST SYSTEM XPLORER 300 W969130 (4935903590A012)
Polaris XPLORER 300 - W969130 EXHAUST SYSTEM XPLORER 300 W969130 (4935903590A012) Diagram
#
Description
Price
4
DAMPENER
5410241
Unavailable
5
MOUNT, MOTOR
3110030
Unavailable
8
BRKT,R.MUFF.MT,BLK.
5241449-067
Unavailable
15
HEADPIPE WELD.
1260658-029
Unavailable
16
EXHAUST WELD,BLK.
1260702-029
Unavailable
17
MANIFOLD, BLK.
1260543-029
Unavailable
19
NUT(10)
3080285
Unavailable
