- Partiron
- OEM Parts
- Polaris
- ATV
- 1999
- XPLORER 300 - A99CC28CA
FRONT BRAKE - A99CC28CA (4949484948b008)
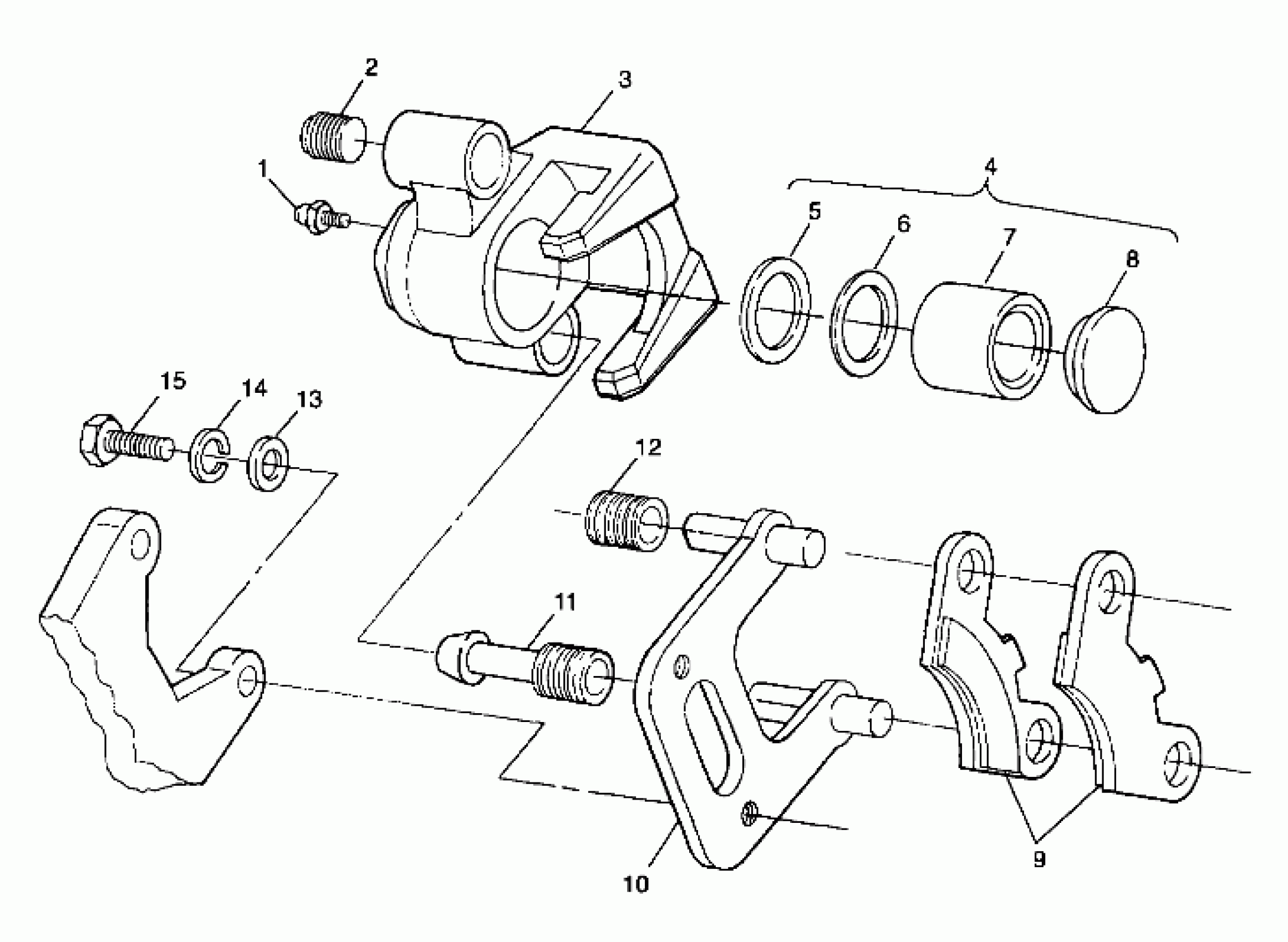
Polaris XPLORER 300 - A99CC28CA FRONT BRAKE - A99CC28CA (4949484948b008) Diagram
#
Description
Price
-
KIT-BOOT,FRONT BRAKE
1930642
Unavailable
-
CALIPER ASM,LH,FR,BRAKE Substituted by 1910271 (Incl. 1-11)
1910232
Unavailable
-
CALIPER ASM,RH,FR.BRAKE Substituted by 1910264 (Incl. 1-11)
1910233
Unavailable
3
CALIPER,LH,BRAKE,MACH. Substituted by 5131261
5131115
Unavailable
3
CALIPER,RH,BRAKE,MACH. Substituted by 5131262
5131116
Unavailable
7
PISTON, CALIPER Substituted by 5132294
5020506
Unavailable
10
MT.ASM, CALIPER
1910057
Unavailable
11
Boot, Bushing
5410495
Unavailable
12
Boot, Pin Seal
5410494
Unavailable
13
Washer (See Footnote) (See Front Strut Pg. B6, Ref. 15)
-------
Unavailable
14
Washer, Spring Lock (See Footnote) (See Front Strut Pg. B6, Ref. 14)
-------
Unavailable
15
Bolt (See Footnote) (See Front Strut Pg. B6, Ref. 13)
-------
Unavailable
