- Partiron
- OEM Parts
- Suzuki
- Motorcycle
- 1983
- XN85-D (1983)
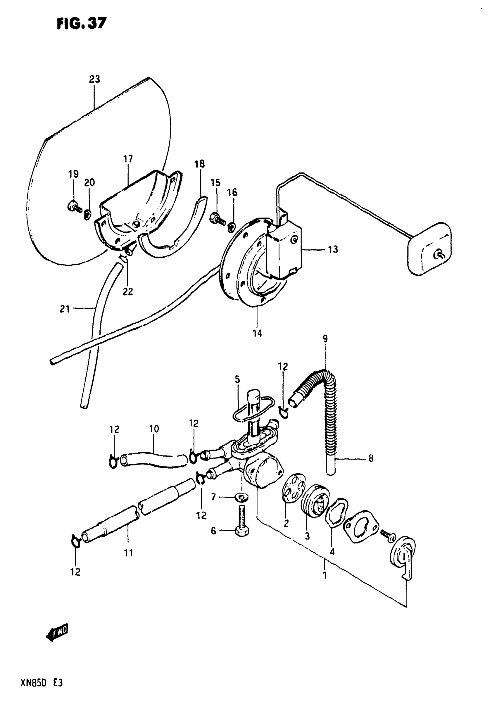
FUEL COCK
Suzuki XN85-D (1983) FUEL COCK Diagram
#
Description
Price
1
COCK, FUEL | Includes Item(s) 2 - 5
44300-09370
Unavailable
2
GASKET, LEVER
44341-09370
Unavailable
3
VALVE
44345-09370
Unavailable
4
WASHER, LEVER
44354-09370
Unavailable
8
HOSE
09343-07114
Unavailable
9
SPRING
09440-19015
Unavailable
10
HOSE
09343-07115
Unavailable
11
HOSE
09343-07116
Unavailable
13
NO DESCRIPTION AVAILABLE | Includes Item(s) 14 This part replaces 34810-09300.
34810-09310
Unavailable
17
PLATE, FUEL DRAIN
34885-34500
Unavailable
18
GASKET,FUEL DRA This part replaces 34888-34500.
34888-34501
Unavailable
23
PROTECTOR, FUEL LEVEL GAUGE
34889-09300
Unavailable
