Yamaha XL760W (WAVE RUNNER XL760) 1998 STEERING 1 Diagram
#
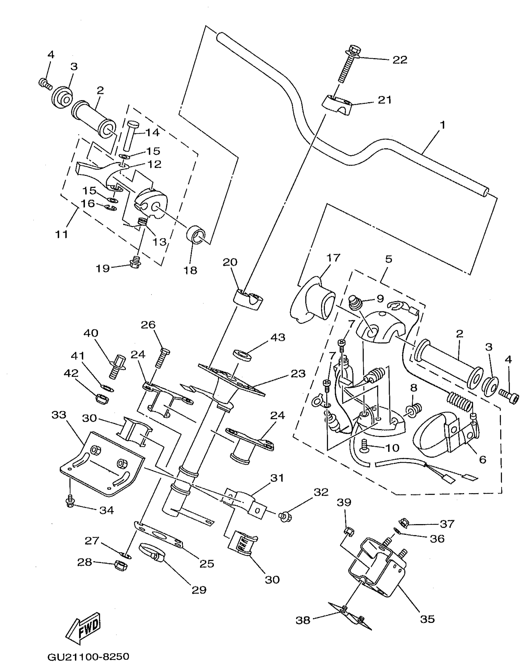
1
HANDLE
GU2-U1552-00-00
Unavailable
2
GRIP, HANDLE
GP7-U155D-01-00
Unavailable
3
GRIP, END
GP7-U155F-00-00
Unavailable
4
BOLT, HEXAGON SOCKET HEAD
90110-05908-00
Unavailable
5
SWITCH BOX ASSY
GP7-68310-01-00
Unavailable
6
. LANYARD, STOP SWITCH
EW2-68348-00-00
Unavailable
8
. STOP BUTTON COMP
FK7-68312-02-00
Unavailable
9
. START BUTTON COMP
FK7-68313-02-00
Unavailable
11
THROTTLE LEVER ASSY
GJ1-67250-01-00
Unavailable
12
. LEVER, THROTTLE
GJ1-67255-00-00
Unavailable
13
. SPRING
EW2-67256-00-00
Unavailable
14
. SHAFT
EW2-67257-01-00
Unavailable
16
CIRCLIP (EU0)
99080-04600-00
Unavailable
17
SPACER
GU2-6143G-00-00
Unavailable
18
SPACER(1LX)
90560-22281-00
Unavailable
19
SCREW, WITH WASHER
90159-059U2-00
Unavailable
20
HOLDER, HANDLE UPPER
EU0-23814-02-00
Unavailable
21
HOLDER, HANDLE UPPER
EU0-23814-32-00
Unavailable
22
BOLT, WITH WASHER
90119-08925-00
Unavailable
23
COLUMN, STEERING
GU2-61541-00-00
Unavailable
24
BEARING, COLUMN
GH1-6141B-00-00
Unavailable
25
SEAL, RUBBER
GH1-U143C-30-00
Unavailable
26
BOLT(JF7)
97080-06030-00
Unavailable
27
YBS66-6 WASHER, PLAIN
92990-06200-00
Unavailable
28
NUT, SELF-LOCKING
95720-06300-00
Unavailable
29
BAND, HOSE 42
90601-142U6-00
Unavailable
30
BEARING, STEERING
GH1-6141D-01-00
Unavailable
31
JOINT, BEARING
EU0-61588-00-00
Unavailable
32
BOLT, WITH WASHER
90119-08800-00
Unavailable
33
BRACKET, BEARING
GU2-61433-00-00
Unavailable
34
BOLT, WITH WASHER
90119-08800-00
Unavailable
35
BRACKET, STOPPER CABLE
GU2-61467-00-00
Unavailable
36
YBS66-6 WASHER, PLAIN
92990-06200-00
Unavailable
37
NUT, FLANGE
95780-06300-00
Unavailable
38
STOPPER, CABLE
GH3-61468-00-00
Unavailable
39
NUT, SELF-LOCKING
95720-06300-00
Unavailable
40
PIN, STOPPER
FN8-6131B-00-00
Unavailable
41
958-69527-00 WASHER, PLAIN
92990-10200-00
Unavailable
42
NUT, NYLON (FN8)
95720-10300-00
Unavailable
43
PACKING, STEERING COLUMN
GH1-U1469-00-00
Unavailable
