- Partiron
- OEM Parts
- Yamaha
- waverunner
- 1998
- XL760W (WAVE RUNNER XL760) 1998
GUNWALE MAT
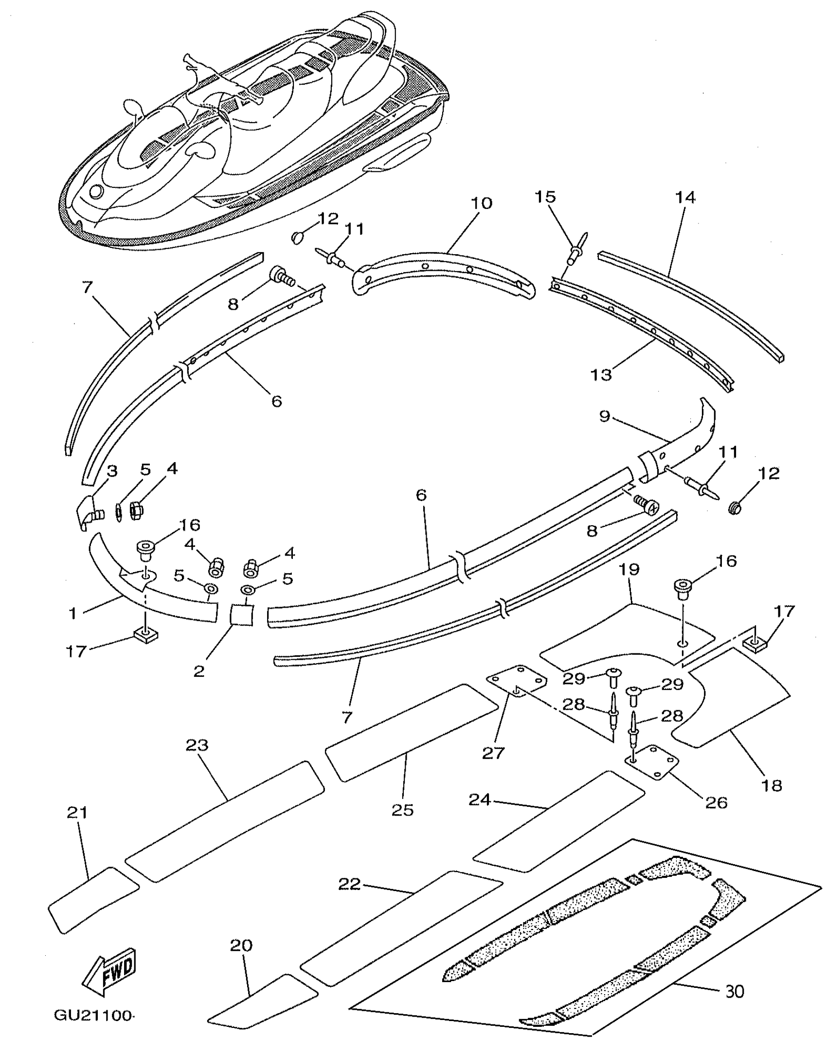
Yamaha XL760W (WAVE RUNNER XL760) 1998 GUNWALE MAT Diagram
#
1
BOW GUNWALE COMP.
GJ3-U2501-20-00
Unavailable
2
JOINT, GUNWALE LH
GU2-6252E-10-00
Unavailable
3
JOINT, GUNWALE RH
GU2-6252F-10-00
Unavailable
4
NUT, SELF-LOCKING
95720-06300-00
Unavailable
6
GUNWALE, SIDE
GH3-U2512-20-00
Unavailable
7
INNER,GUNWALE
GJ3-U2519-40-00
Unavailable
8
SCREW,TAPPING
90169-059U1-00
Unavailable
9
GUNWALE, STERN 1
GJ3-U251D-21-00
Unavailable
10
GUNWALE, STERN 2
GJ3-U251E-21-00
Unavailable
11
RIVET, BLIND
90267-489U8-00
Unavailable
12
CAP, HEAD (BLACK)
GJ3-U354D-30-00
Unavailable
13
COVER, GUNWALE 1
GJ3-U252C-20-00
Unavailable
14
COVER, GUNWALE 2
GJ3-U252D-40-00
Unavailable
15
RIVET, BLIND
90267-489U8-00
Unavailable
16
ROPE HOLE
FN8-61651-01-00
Unavailable
17
NUT
EU0-61652-00-00
Unavailable
18
MAT, UPPER LH
GU2-U358F-02-00
Unavailable
19
MAT, UPPER RH
GU2-U358G-02-00
Unavailable
20
MAT, STEP 1
GU2-U351H-02-00
Unavailable
21
MAT, STEP 2
GU2-U351J-02-00
Unavailable
22
MAT, STEP 5
GU2-U351N-10-00
Unavailable
23
MAT, STEP 6
GU2-U351P-02-00
Unavailable
24
MAT, STEP 7
GU2-U351R-02-00
Unavailable
25
MAT, STEP 8
GU2-U351S-02-00
Unavailable
26
MAT, STEP 4
GH3-U351M-50-00
Unavailable
27
MAT, STEP 4
GH3-U351M-60-00
Unavailable
28
RIVET, BLIND
90267-48802-00
Unavailable
29
PLUG, MUSHROOM
GJ3-U352E-50-00
Unavailable
30
MAT KIT BLACK
GU2-MATKT-00-BK
Unavailable
