- Partiron
- OEM Parts
- Yamaha
- waverunner
- 2002
- XL700A (XL700) F0M9 2002
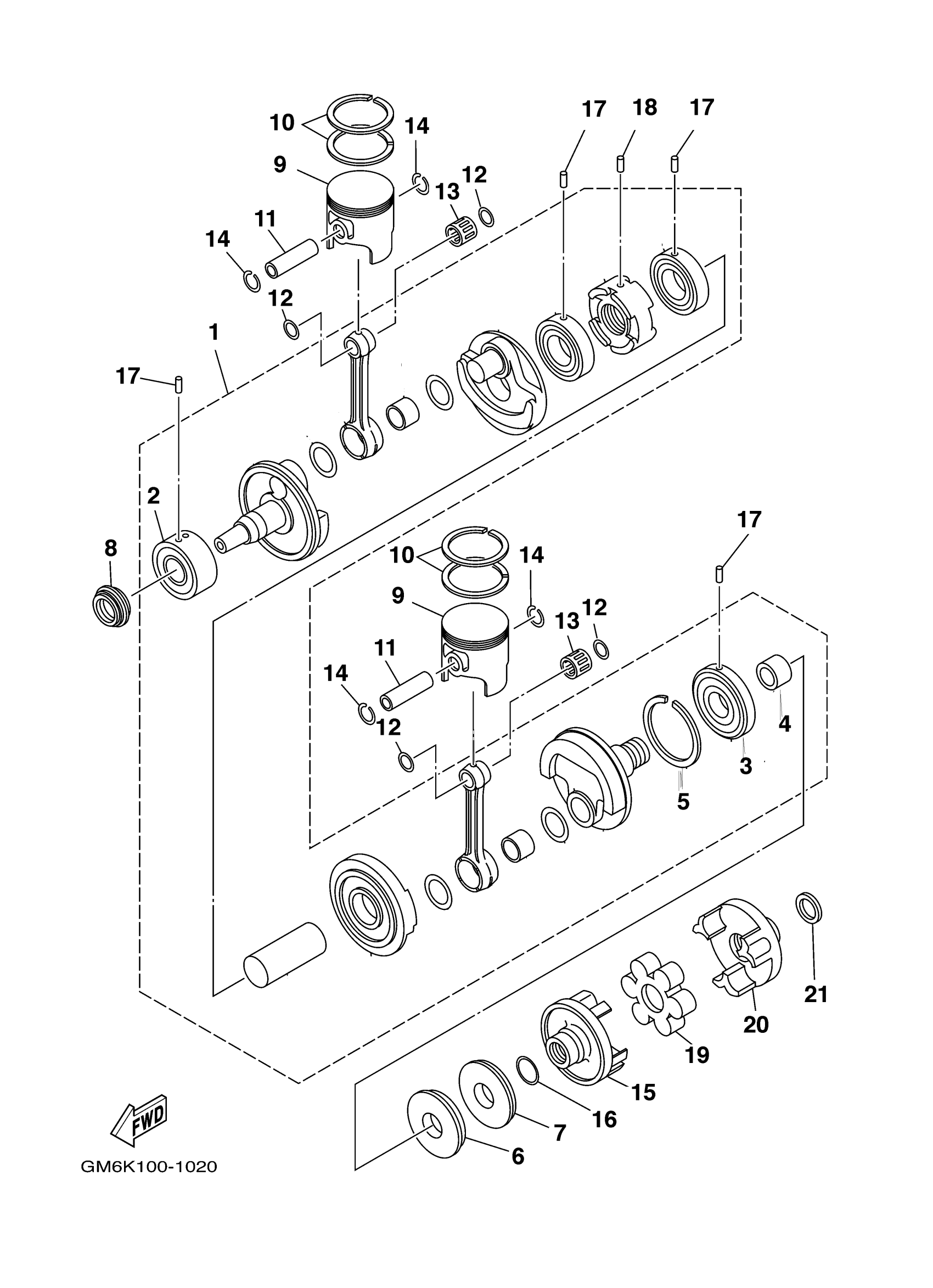
CRANKSHAFT PISTON
Yamaha XL700A (XL700) F0M9 2002 CRANKSHAFT PISTON Diagram
#
Description
Price
1
CRANKSHAFT ASSY
62T-11400-02-00
Unavailable
3
BEARING(6M6)
93306-307U3-00
Unavailable
4
. COLLAR, DRIVE SHAFT
62T-45526-00-00
Unavailable
6
. OIL SEAL
93102-36M33-00
Unavailable
7
. OIL SEAL
93101-36M46-00
Unavailable
8
. OIL SEAL
93103-32M01-00
Unavailable
9
PISTON (STD)
62T-11631-02-92
Unavailable
9
PISTON (0.25MM O/S)
62T-11635-02-00
Unavailable
9
PISTON (0.50MM O/S)
62T-11636-02-00
Unavailable
10
PISTON RING SET (STD)
61X-11603-01-00
Unavailable
10
PISTON RING SET (0.25MM O/S)
61X-11604-01-00
Unavailable
10
PISTON RING SET (0.50MM O/S)
61X-11605-01-00
Unavailable
11
PIN, PISTON
62T-11633-00-00
Unavailable
12
BEARING, CYLINDRICAL(62T)
93310-320U2-00
Unavailable
13
WASHER, PLATE(61X)
90201-20M04-00
Unavailable
14
CIRCLIP (8H0)
93450-21053-00
Unavailable
15
FLANGE, COUPLING
6M6-45813-32-8P
Unavailable
16
SEAL
62T-45127-01-00
Unavailable
17
PIN (2H7)
93603-10049-00
Unavailable
18
PIN, DOWEL (8H1)
93604-07141-00
Unavailable
19
RUBBER SHAFT COUPLING
61X-4581J-00-00
Unavailable
20
FLANGE, COUPLING
6M6-45813-22-8P
Unavailable
21
WASHER, PLATE
90201-24800-00
Unavailable
