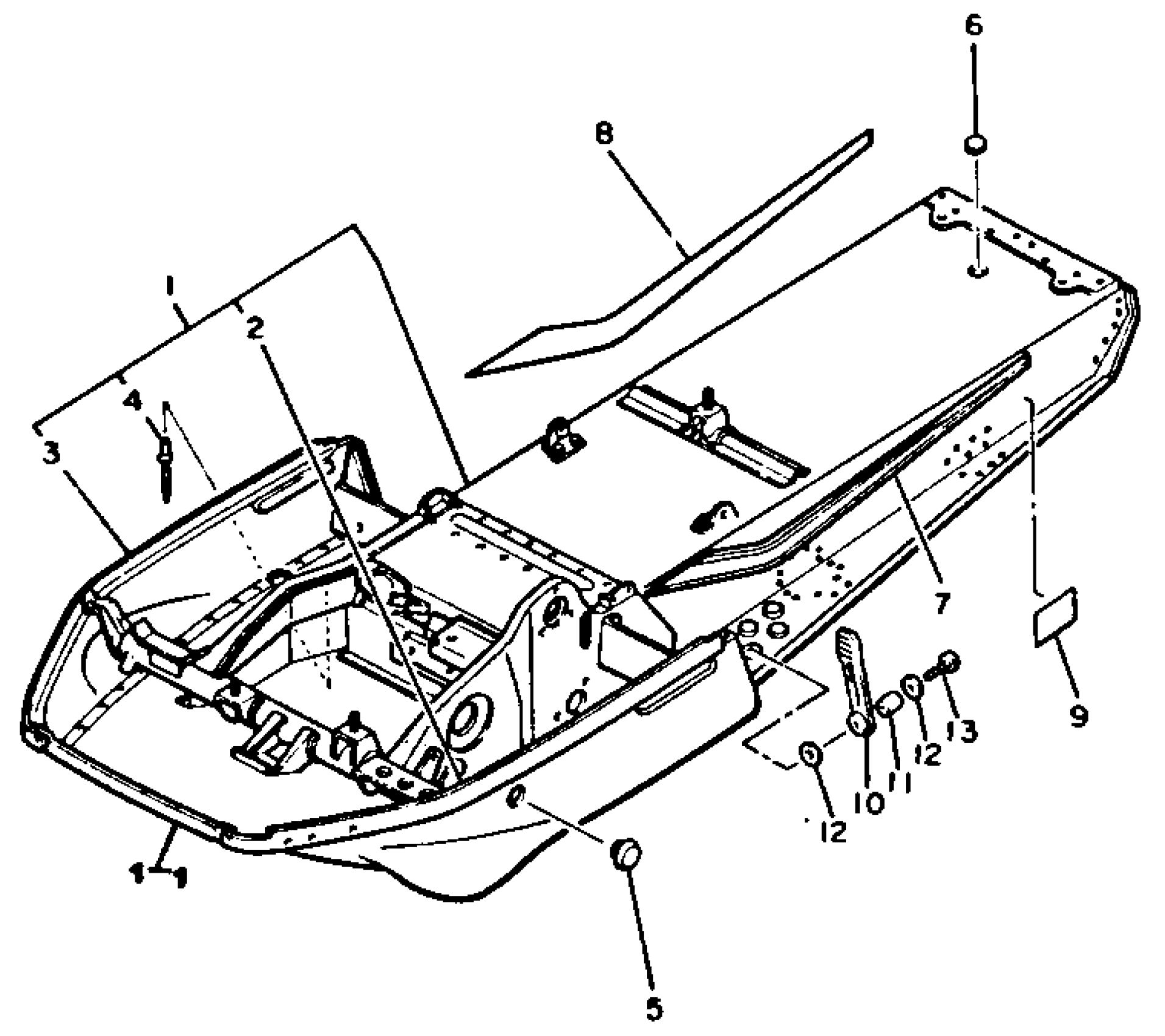
#
1
86K-21910-00-00
Unavailable
1
8Y7-21912-09-00
Unavailable
2
86K-21982-00-00
Unavailable
3
86K-21983-00-00
Unavailable
6
810-77716-00-00
Unavailable
7
87K-77351-00-00
Unavailable
8
87K-77352-00-00
Unavailable
9
8K2-77742-00-00
Unavailable
10
8M6-77171-00-00
Unavailable
Edit ride
