- Partiron
- OEM Parts
- Yamaha
- snowmobile
- 1985
- XL540J (XL-V) 1985
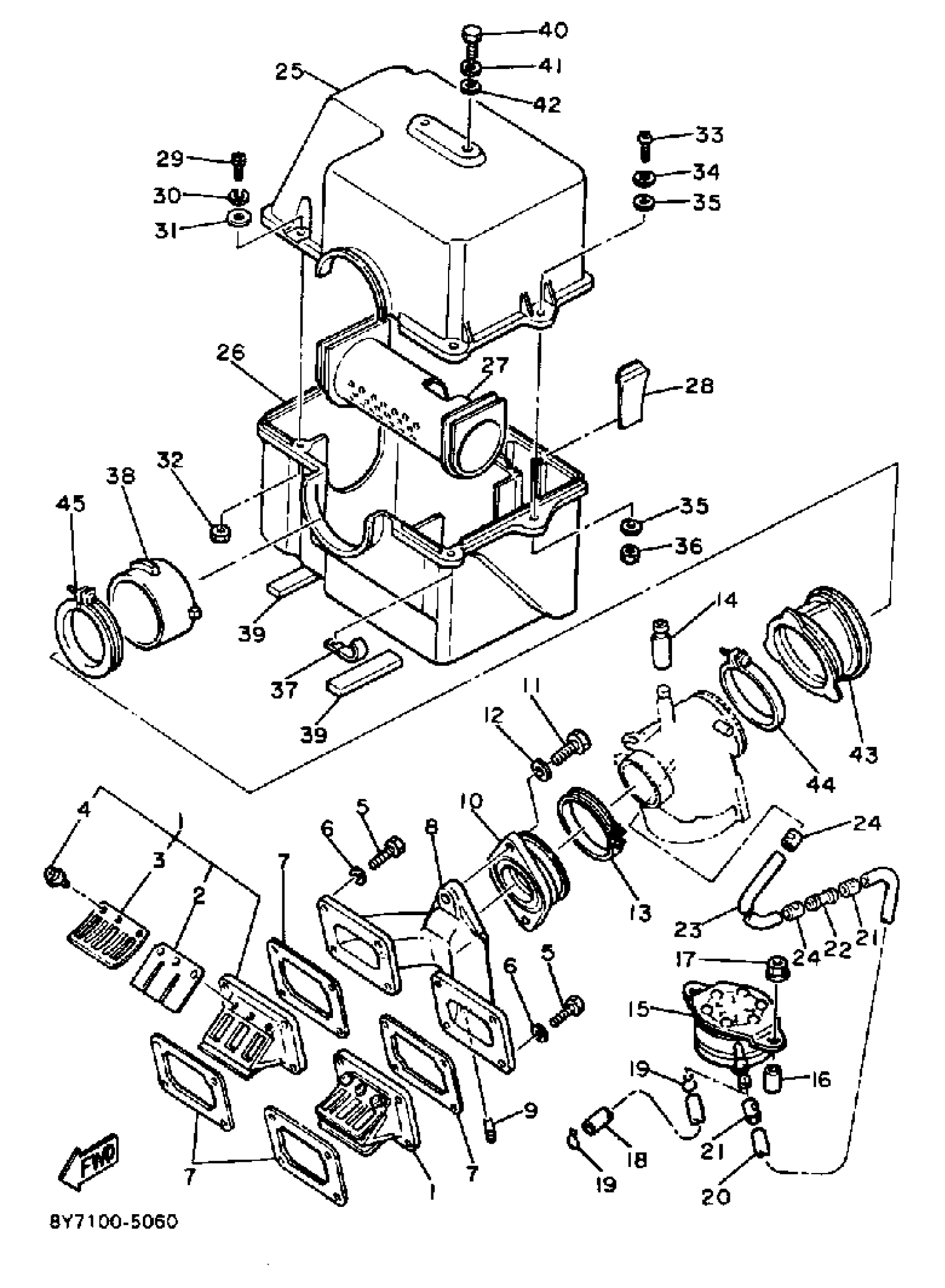
AIR CLEANER
Yamaha XL540J (XL-V) 1985 AIR CLEANER Diagram
#
8
JOINT, CARBURETOR
8L0-13565-00-00
Unavailable
9
NOZZLE
824-13552-00-00
Unavailable
12
.. WASHER, PLATE
92990-08600-00
Unavailable
14
BOOT
8J5-26352-00-00
Unavailable
15
FUEL PUMP ASSEMBLY (8Y0-24410-00)
8Y0-24410-01-00
Unavailable
16
COLLAR(M63)
90387-060X8-00
Unavailable
17
NUT, FLANGE(7NB)
95780-06500-00
Unavailable
18
HOSE (L450)
90445-10144-00
Unavailable
19
CLIP
90467-090A2-00
Unavailable
20
HOSE
(90446-11022-00)
Unavailable
21
CLIP
90467-11028-00
Unavailable
22
PIPE, JOINT 1
8Y4-24376-00-00
Unavailable
23
HOSE
90446-09130-00
Unavailable
24
CLIP (8A1)
90467-09026-00
Unavailable
25
SILENCER, INTAKE 1
8K4-14431-00-00
Unavailable
26
SILENCER, INTAKE 2
8K4-14441-01-00
Unavailable
27
PIPE
8L0-14466-00-00
Unavailable
28
PLATE
8K4-14477-00-00
Unavailable
29
SCREW, PAN HEAD(6B0)
97885-05016-00
Unavailable
30
YBS67-5 WASHER, SPRING
92990-05100-00
Unavailable
31
WASHER, PLAIN (646)
92990-05600-00
Unavailable
32
NUT, HEXAGON SMALL
95317-05700-00
Unavailable
33
SCREW, PAN HEAD (76T)
98517-06025-00
Unavailable
34
WASHER, SPRING
92995-06100-00
Unavailable
35
YBS66-6 WASHER, PLAIN
92990-06200-00
Unavailable
36
NUT, HEXAGON
95380-06600-00
Unavailable
37
CLAMP(7RG)
90462-06232-00
Unavailable
38
PIPE
8N8-14465-00-00
Unavailable
39
DAMPER 1
8K4-14425-00-00
Unavailable
40
BOLT, HEXAGON DEEP RECESS
97D95-06016-00
Unavailable
41
WASHER, SPRING
92995-06100-00
Unavailable
42
WASHER, PLATE (4L0)
90201-062A8-00
Unavailable
43
JOINT, AIR CLEANER1
8N8-14453-01-00
Unavailable
44
CLAMP, HOSE (90460-71017)
90460-71129-00
Unavailable
45
HOSE CLAMP ASSY
90450-75002-00
Unavailable
