- Partiron
- OEM Parts
- Honda
- MOTORCYCLE
- 1982
- XL500RA (82) MOTORCYCLE, JPN, VIN# JH2PD020-CM000032 TO JH2PD020-CM009868
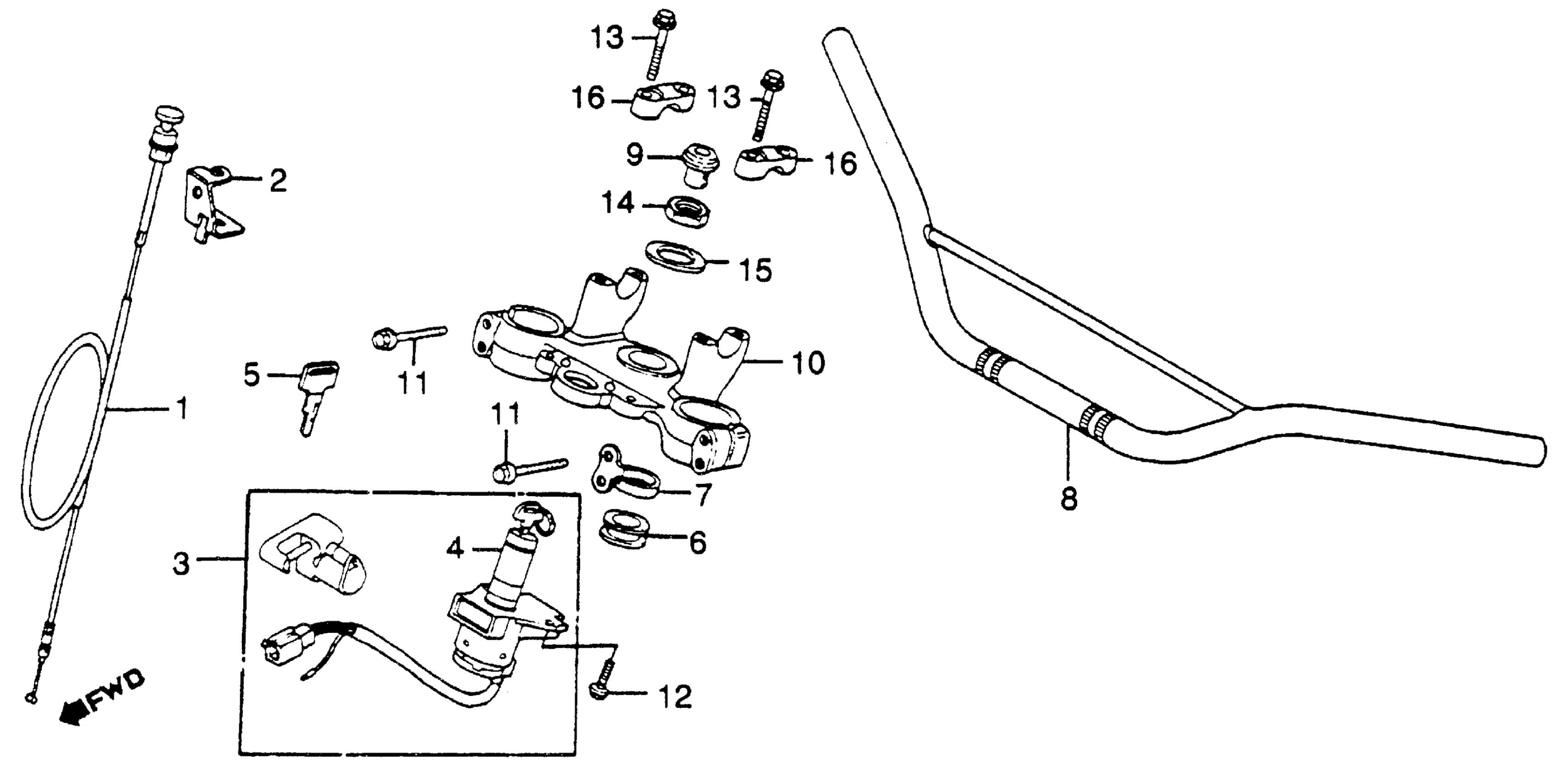
HANDLEBAR + TOP BRIDGE
Honda XL500RA (82) MOTORCYCLE, JPN, VIN# JH2PD020-CM000032 TO JH2PD020-CM009868 HANDLEBAR + TOP BRIDGE Diagram
#
Description
Price
1
CABLE, CHOKE (NOT AVAILABLE)
17950-MC4-000
Unavailable
2
STAY, CHOKE CABLE (NOT AVAILABLE)
17951-KB7-670
Unavailable
3
LOCK SET (NOT AVAILABLE)
35010-KB7-000
Unavailable
4
SWITCH ASSY., COMBINATION & LOCK (NOT AVAILABLE) This part replaces 35100-KB7-007.
35100-KB7-017
Unavailable
5
KEY, BLANK (TYPE1) (KEY NO. AXX / BXX) | (Optional). This part replaces 35121-KB7-810.
35121-KW3-771
$10.10
7
GUIDE, BRAKE CABLE (UPPER) (NOT AVAILABLE)
45469-MC4-000
Unavailable
8
HANDLEBAR (NOT AVAILABLE)
53100-MC4-000
Unavailable
10
BRIDGE, FORK TOP (NOT AVAILABLE) | Use up to Frame SN CM009118 This part replaces 53230-MC4-000.
53230-MC4-010
Unavailable
10
BRIDGE, FORK TOP (NOT AVAILABLE)
53230-MC4-010
Unavailable
11
BOLT, FLANGE (8X45) (NA USE ALT:90103-KF0-000)
90103-KB7-000
Unavailable
12
BOLT, FLANGE (8X19) (NOT AVAILABLE)
90105-KB7-000
Unavailable
