- Partiron
- OEM Parts
- Honda
- MOTORCYCLE
- 1976
- XL350A (76) MOTORCYCLE, JPN, VIN# XL350-3000001 TO XL350-3008851
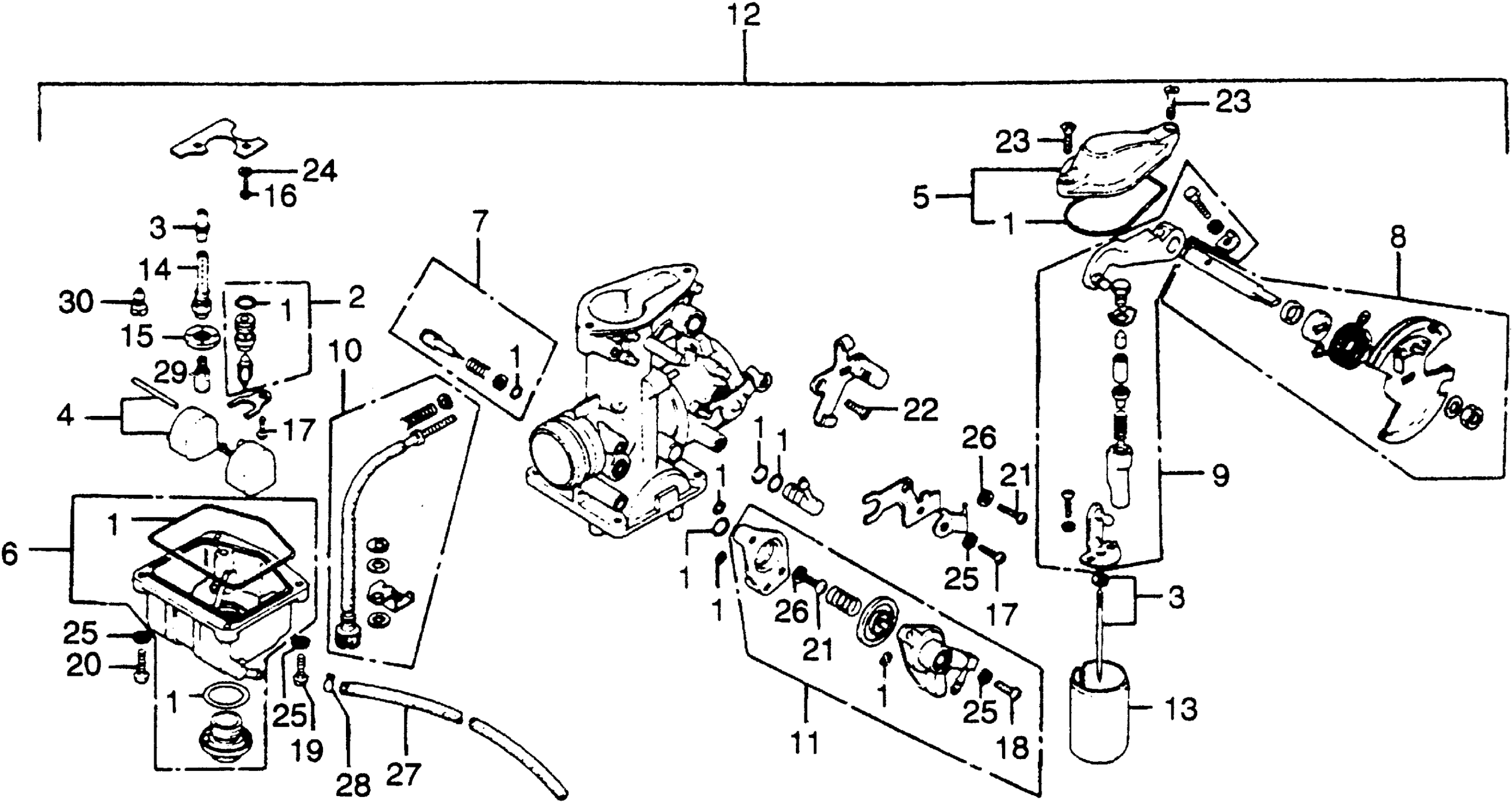
CARBURETOR 76
Honda XL350A (76) MOTORCYCLE, JPN, VIN# XL350-3000001 TO XL350-3008851 CARBURETOR 76 Diagram
#
Description
Price
1
GASKET SET
16010-356-004
Unavailable
2
VALVE SET, FLOAT
16011-356-004
Unavailable
3
NEEDLE SET, JET (NOT AVAILABLE)
16012-385-004
Unavailable
4
FLOAT SET
16013-360-004
Unavailable
5
TOP SET
16014-356-004
Unavailable
6
CHAMBER SET, FLOAT
16015-356-004
Unavailable
7
SCREW SET A (NOT AVAILABLE)
16016-386-004
Unavailable
8
LINK SET (NOT AVAILABLE)
16017-385-004
Unavailable
9
ARM SET, LINK
16018-356-004
Unavailable
10
SCREW SET B (NOT AVAILABLE)
16028-385-004
Unavailable
11
VALVE SET, AIR CUT (NOT AVAILABLE)
16048-385-004
Unavailable
12
CARBURETOR ASSY. (NOT AVAILABLE)
16100-385-004
Unavailable
13
VALVE, THROTTLE (NOT AVAILABLE)
16111-356-004
Unavailable
14
HOLDER, NEEDLE JET (NOT AVAILABLE)
16165-356-004
Unavailable
15
HOLDER, JET (NOT AVAILABLE)
16168-385-004
Unavailable
23
SCREW, OVAL (4X18) (NOT AVAILABLE)
93700-04018-0A
Unavailable
30
JET, SLOW (#48) (NOT AVAILABLE)
99103-356-0480
Unavailable
