- Partiron
- OEM Parts
- Honda
- MOTORCYCLE
- 1982
- XL250RA (82) MOTORCYCLE, JPN, VIN# JH2MD030-CM000002 TO JH2MD030-CM007566
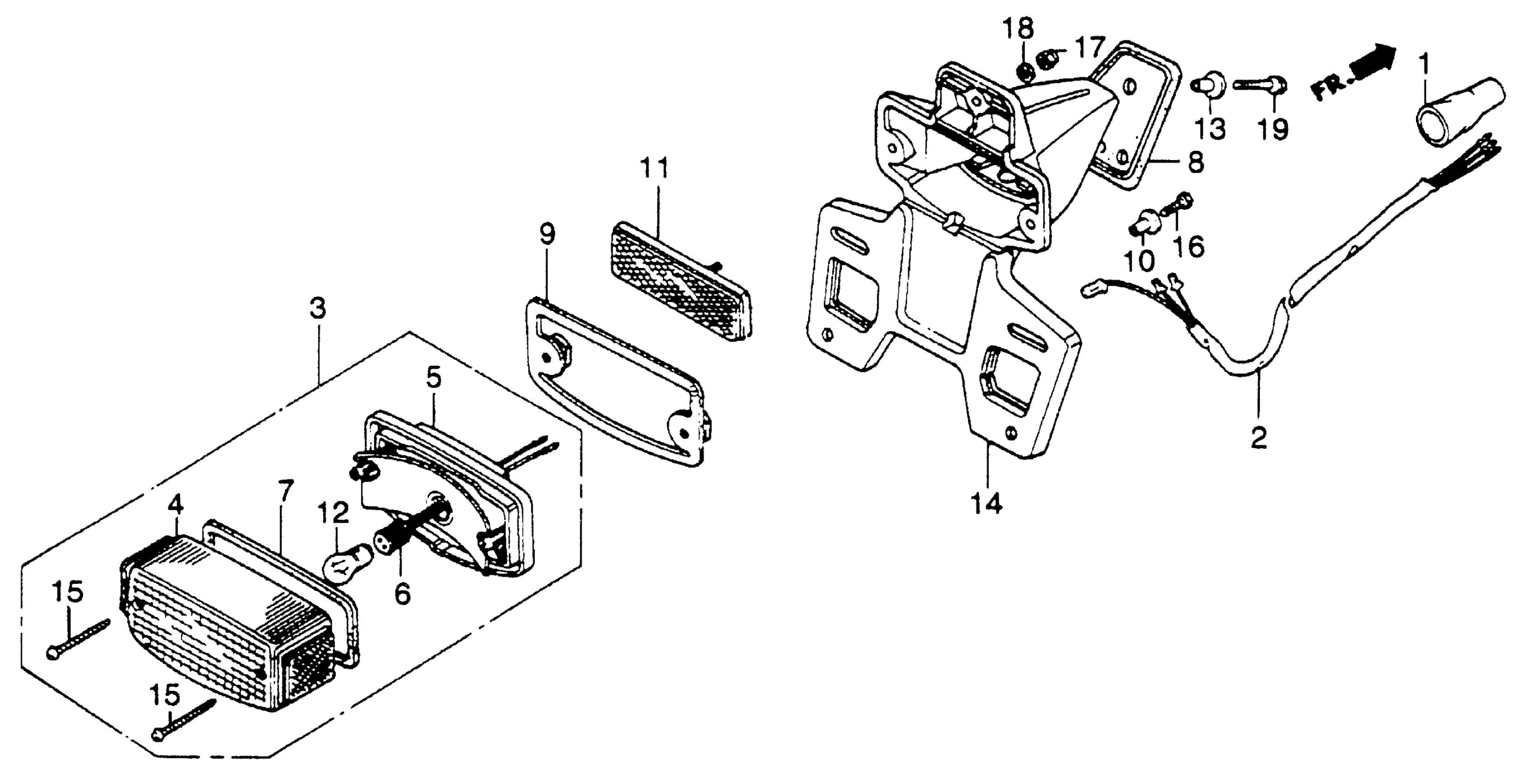
TAILLIGHT 82-83
Honda XL250RA (82) MOTORCYCLE, JPN, VIN# JH2MD030-CM000002 TO JH2MD030-CM007566 TAILLIGHT 82-83 Diagram
#
Description
Price
1
COVER, WIRE HARNESS CONNECTOR
32108-046-000
Unavailable
2
SUB-WIRE, TAILLIGHT
32101-KY0-980
Unavailable
2
SUB-WIRE, TAILLIGHT This part replaces 32200-428-000.
32101-KY0-980
Unavailable
3
TAILLIGHT UNIT
33701-GAN-671
Unavailable
3
TAILLIGHT UNIT This part replaces 33701-MC4-671.
33701-GAN-671
Unavailable
5
BASE, TAILLIGHT
33703-MC4-671
Unavailable
6
CABLE, TAILLIGHT
33708-147-003
Unavailable
8
RUBBER, BASE SEAT (NOT AVAILABLE)
33712-KB7-003
Unavailable
9
GASKET, TAILLIGHT
33718-KB7-003
Unavailable
10
COLLAR, TAILLIGHT GASKET
33719-KB7-000
Unavailable
12
BULB, TAILLIGHT (12V27/7W) (2057HD) (STANLEY) This part replaces 34906-341-671.
34906-MG9-771
$4.15
14
BRACKET, LICENSE PLATE
84701-MC4-671
Unavailable
