Partiron

Honda XL100SA (85) MOTORCYCLE, JPN, VIN# JH2HD050-FK400001 TOOLS 81-85 Diagram

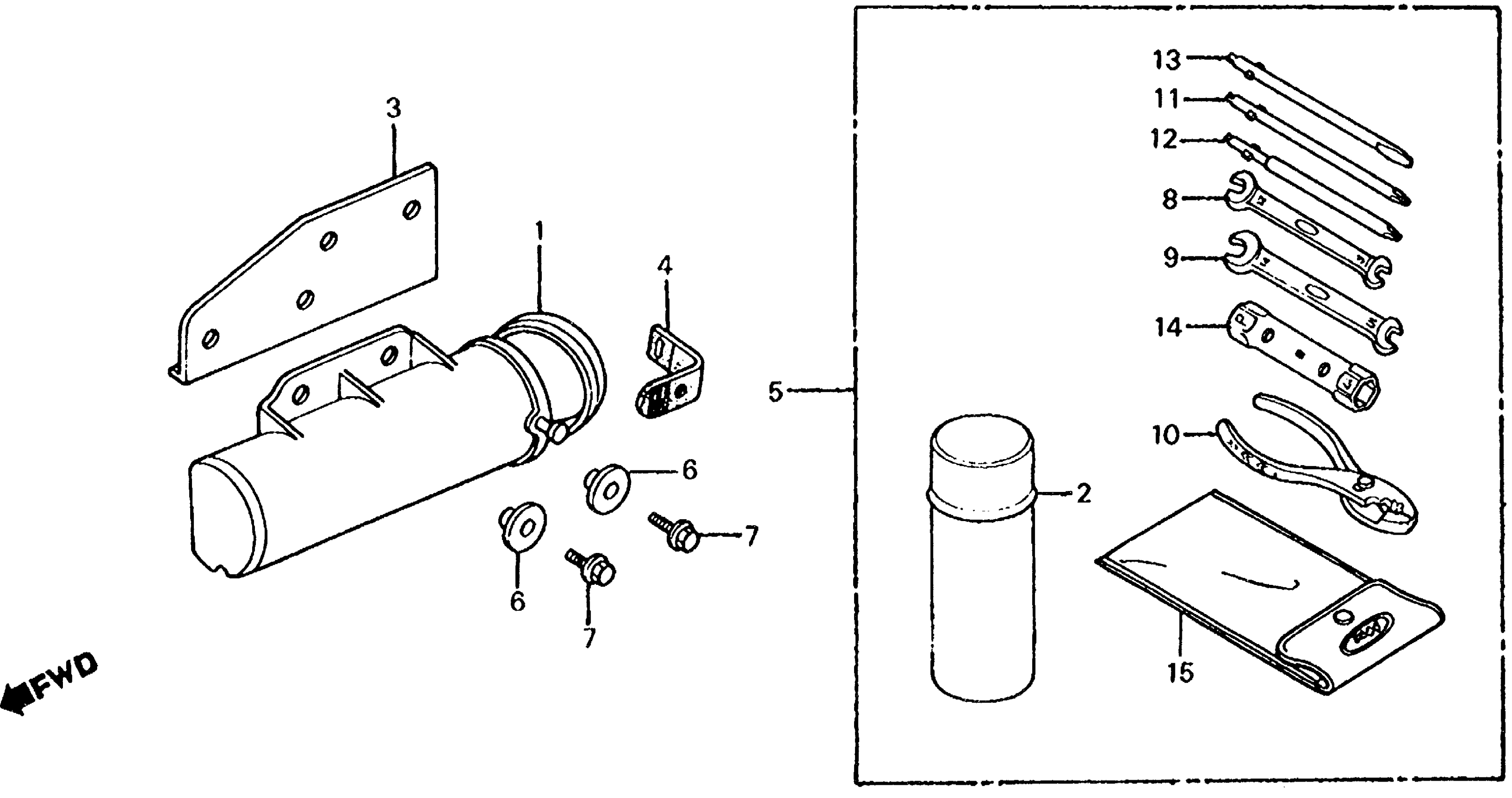
#

Description
Price

2

BOX, TOOL

83501-152-000

$15.97

5

TOOL SET (NOT AVAILABLE)

89010-195-670

Unavailable

8

WRENCH (8X12) (OPEN END)

99001-08120

$2.75

9

WRENCH (10X14) (OPEN END)

99001-10140

$2.92

10

PLIERS (135) (KOWA) This part replaces 99002-13500.

89210-GBJ-J10

$13.57

11

SCREWDRIVER 1, PHILLIPS (NO.2)

99003-10000

$3.27

12

SCREWDRIVER 2, PHILLIPS (NO.3)

99003-20000

$3.27

13

SCREWDRIVER 3, STRAIGHT SLOT (NO.2)

99003-30000

$3.27

14

WRENCH, BOX (P16X17)

99004-16170

$4.08