Yamaha XJ900RK (SECA) 35H 1983 STEERING Diagram
#
Description
Price
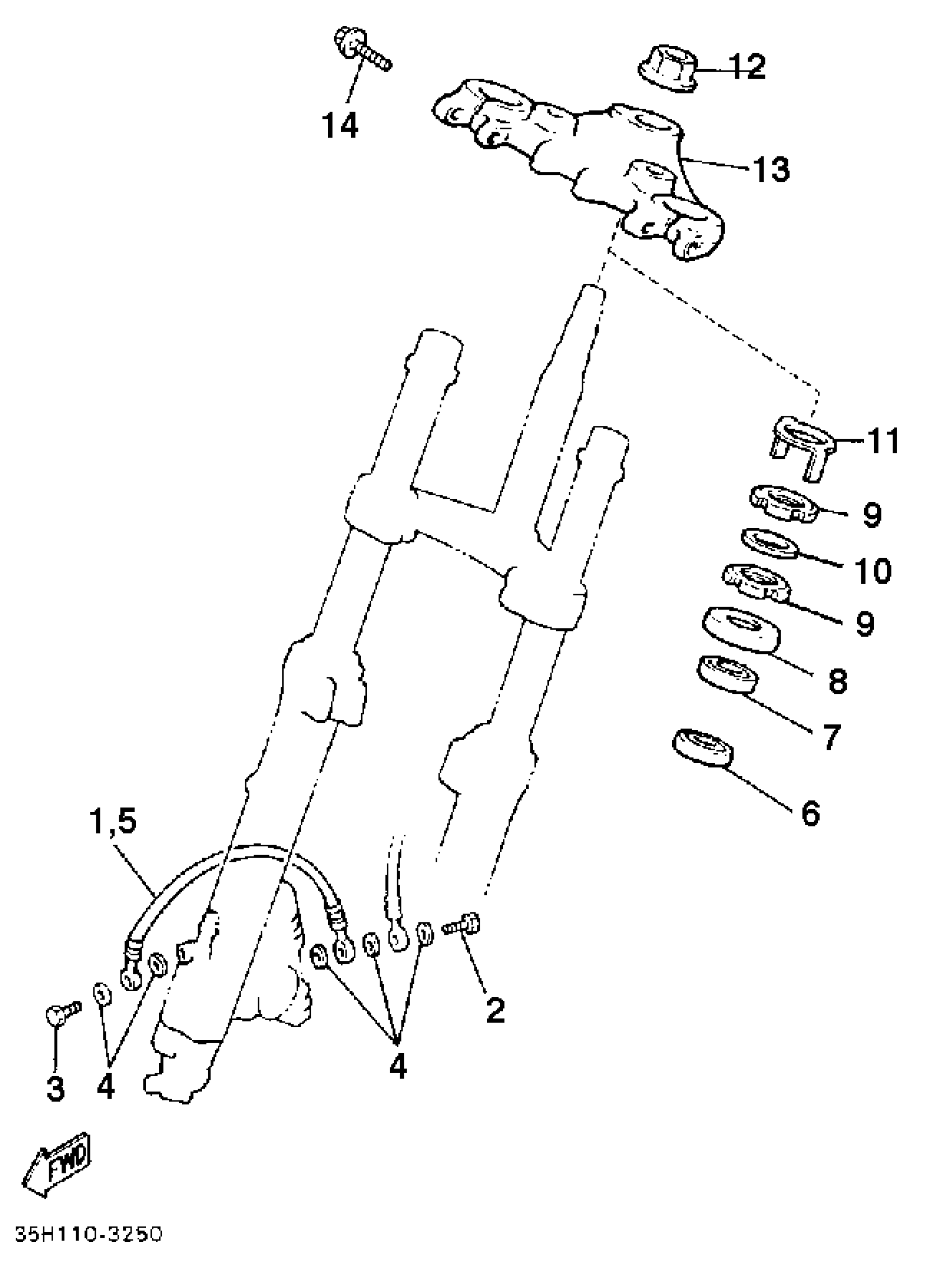
1
BRAKE HOSE
99999-02559-00
Unavailable
4
WASHER, PLATE(481)
90201-10118-00
Unavailable
5
BRAKE HOSE SET(31A)
99999-02560-00
Unavailable
13
CROWN, HANDLE
31A-23435-00-98
Unavailable
