- Partiron
- OEM Parts
- Yamaha
- motorcycle
- 1983
- XJ750MK (XJ750M) 1983
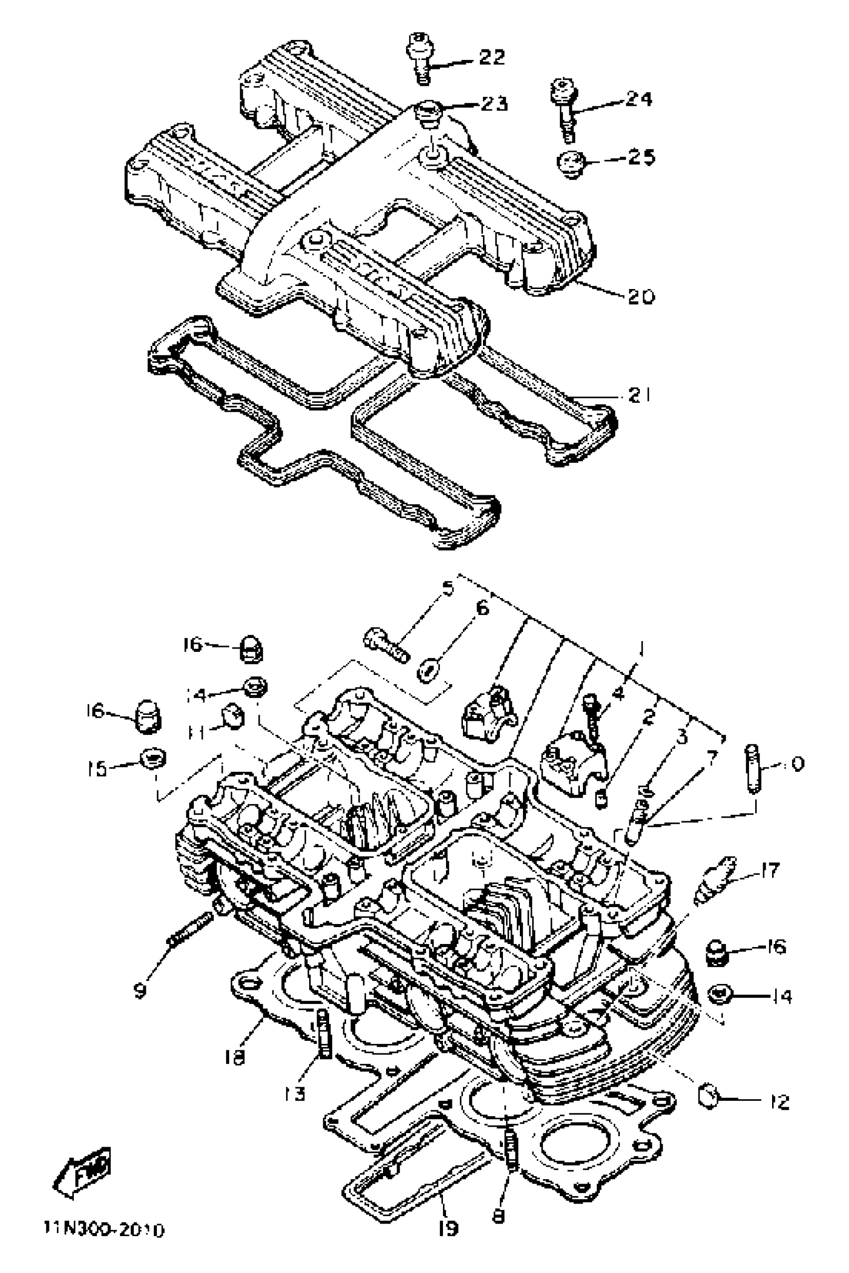
CYLINDER HEAD
Yamaha XJ750MK (XJ750M) 1983 CYLINDER HEAD Diagram
#
Description
Price
1
CYLINDER HEAD ASS''Y
33N-11101-00-00
Unavailable
6
GASKET 256113960000
90430-06014-00
Unavailable
11
ABSORBER
434-11161-00-00
Unavailable
14
WASHER, PLATE
90201-114G2-00
Unavailable
16
NUT, CROWN (5A8)
90176-10033-00
Unavailable
17
BPR7ES NGK - 4/PACK
BPR-7ES00-40-00
Unavailable
18
GASKET, CYL.HEAD 1
5G2-11181-10-00
Unavailable
19
SEAL, CYLINDER 1
5G2-11355-00-00
Unavailable
20
COVER, CYLINDER. HEAD 1
33N-11191-00-00
Unavailable
21
GASKET, HEAD COVER 1
5G2-11193-00-00
Unavailable
22
BOLT (4V8)
90109-06604-00
Unavailable
23
RUBBER, MOUNT 1
4G0-1111G-00-00
Unavailable
24
BOLT (4V8)
90109-06605-00
Unavailable
25
RUBBER, MOUNT 2
4U8-1112G-00-00
Unavailable
