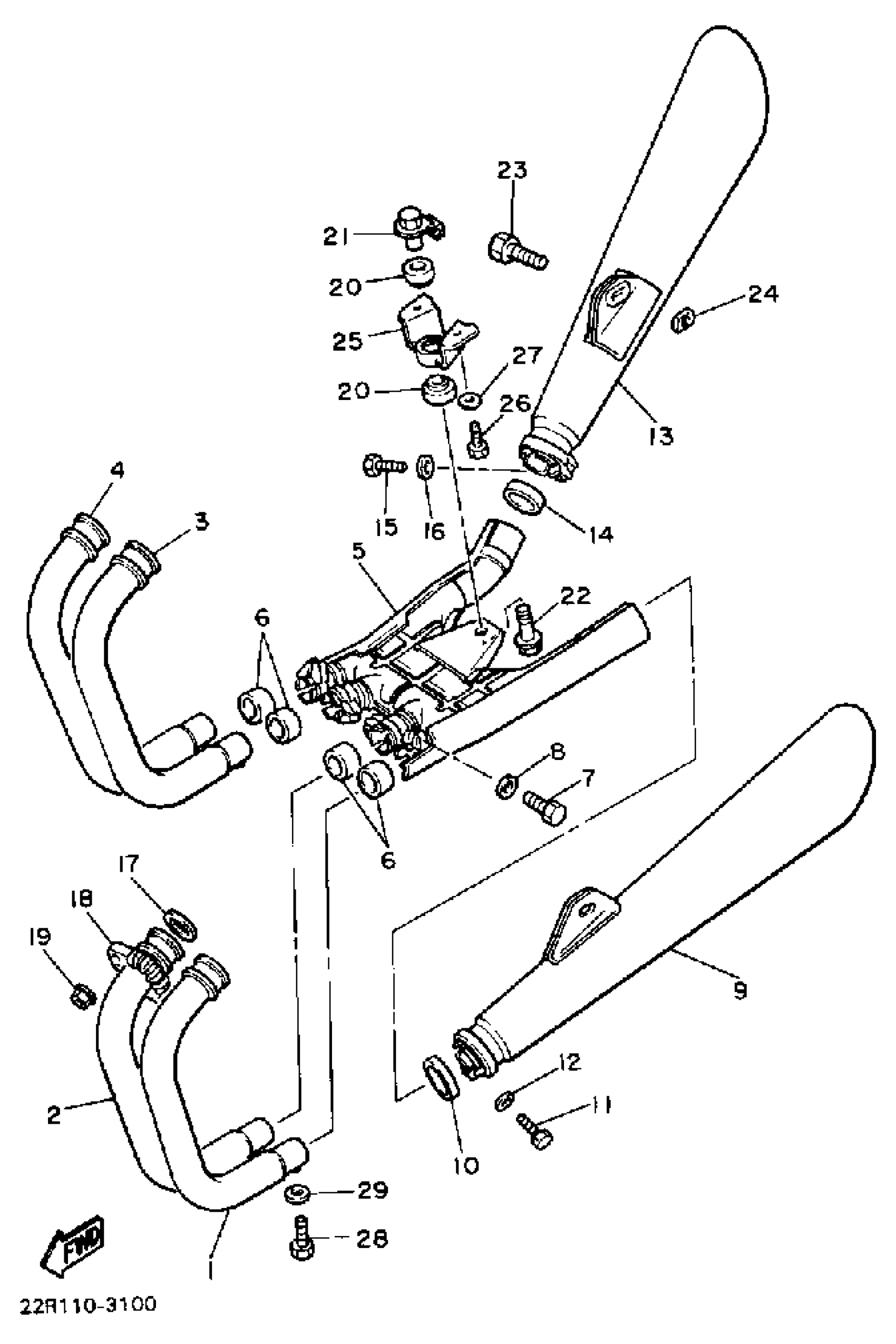
Yamaha XJ750K (XJ750) 1983 EXHAUST Diagram
#
Description
Price
1
PIPE, EXHAUST L
5G2-14611-00-00
Unavailable
2
PIPE, EXHAUST R
5G2-14621-00-00
Unavailable
3
PIPE, EXHAUST 3
5G2-14631-00-00
Unavailable
4
PIPE, EXHAUST 4
5G2-14641-00-00
Unavailable
5
JOINT, EXHAUST L
15R-14615-00-00
Unavailable
9
MUFFLER L
15R-14711-00-00
Unavailable
12
.. WASHER, PLATE
92990-08600-00
Unavailable
13
MUFFLER R
15R-14721-00-00
Unavailable
16
.. WASHER, PLATE
92990-08600-00
Unavailable
17
GASKET, EXHAUST PIPE
4BR-14613-00-00
Unavailable
18
NUT, RING
5G2-14612-00-00
Unavailable
19
NUT (1AE)
90179-06500-00
Unavailable
20
DAMPER, MUFFLER
36Y-14747-00-00
Unavailable
21
COLLAR
1AE-14638-00-00
Unavailable
22
BOLT, FLANGE
95814-10040-00
Unavailable
23
BOLT(1TX)
90109-101E6-00
Unavailable
24
NUT, SPEC''L SHAPE
90179-10276-00
Unavailable
25
STAY, MUFFLER
4K0-14791-00-00
Unavailable
27
.. WASHER, PLATE
92990-08600-00
Unavailable
28
BOLT (11T)
90101-06576-00
Unavailable
29
WASHER, PLAIN (646)
92990-06600-00
Unavailable
